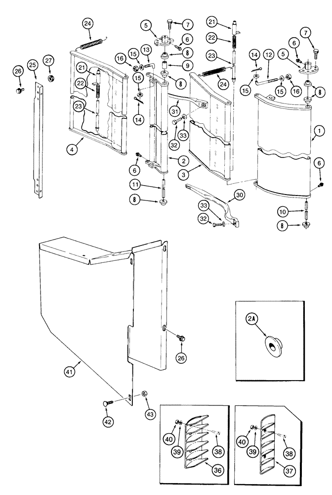
Запчасти Case IH 2155 (9A-64) - PLANT COMPRESSOR (13) - PICKING SYSTEM

Схема запчастей Case IH 2155 - (9A-64) - PLANT COMPRESSOR (13) - PICKING SYSTEM
2
31
21
11
42
2a
7
4
41
1
8
14
6
39
14
13
16
22
38
33
8
40
16
12
7
38
25
23
24
23
9
6
15
37
5
21
30
24
32
40
8
33
22
3
10
32
15
15
8
6
8
39
5
15
26
43
6
26
36
27
FIT
1:1
100%

Артикул

Название

Примечание

Количество

1

1546337C2

GUIDE

- plant, front right-hand

1шт.

2

1546345C2

GUIDE

- plant, rear right-hand

1шт.

2a

133098A1

BUSHING

- plant guide

2шт.

3

1546340C1

EXTENSION

- plant guide, front

1шт.

4

1546348C1

EXTENSION

- plant guide, rear

1шт.

5

216542C1

HUB

- torsion

2шт.

6

485-1258

SET SCREW,Sq Hd, 1/4"-20 x 1/2"

SCREW - set, square head, 1/4 NC x 1/2 inch, cup point

4шт.

7

413-616

BOLT,Hex, 3/8" - 16 x 1", Gr 5

- hex, 3/8 NC x 1 inch

2шт.

8

216544C1

BUSHING

- guide

6шт.

9

86982778

SPACER,15.8mm ID x 21.34mm OD x 46.02mm L

- 5/8 ID x 1-13/16 inch long

1шт.

10

1982784C1

TORSION BAR

BAR - torsion, front

1шт.

11

1982785C1

TORSION BAR

BAR - torsion, rear

1шт.

12

669752R1

ADJUSTMENT ROD

ROD - adjusting, front

2шт.

13

216543C1

ADJUSTMENT ROD

ROD - adjusting, rear

2шт.

14

432-812

COTTER PIN,3/4" OAL x 1/8" W

PIN, SPLIT (COTTER), 1/8" x 3/4"

4шт.

15

495-21044

WASHER,3/8"

(7/16 x 1 x 5/64 inch) 3/8"

4шт.

16

131-463

NUT,3/8"-16

NUT - heavy hex, self-locking, 3/8 inch NC

4шт.

21

673851R2

STEM

ROD - extension

2шт.

22

10322R

SPRING

- compression

2шт.

23

1982712C1

STEM

ROD - hinge

2шт.

24

1338869C1

SPRING

- extension

2шт.

25

1982806C2

SUPPORT

CHANNEL - adjusting rod

1шт.

26

409-7612

BOLT,3/8"-16 x 1.09" OAL

- hex serrated flange, 3/8 NC x 3/4 inch

2шт.

27

231-5146

FLANGE NUT,3/8"-16

2шт.

30

216828C2

GUIDE

SLAT - plant, left-hand

17шт.

31

216829C2

GUIDE

SLAT - plant, right-hand

17шт.

32

413-512

BOLT,Hex, 5/16" - 18 x 3/4", Gr 5

- hex, 5/16 NC x 3/4 inch

34шт.

33

87058C1

BELLEVILLE WASHER

- Belleville lock

34шт.

37

667386R2

PLATE

- compressor

6шт.

38

474-12510

SCREW,FLAT, 1/4" - 28 x 5/8"

- machine, flat head slotted, 1/4 NF x 5/8 inch

18шт.

39

492-11025

LOCK WASHER,1/4"

WASHER, LOCK, 1/4"

18шт.

40

425-114

NUT,1/4"-28, G5

18шт.

41

1988622C3

GUARD

SHIELD - plant, left-hand, 5 row No.3

1шт.

PLANT SHIELD; P/N 1988622C3 SHOULD READ PLANT SHIELD, LEFT-HAND USED FOR ALL HEADS EXCEPT THE NO.3. P/N 1988826C2 IS FOR THE 5 ROW NO. 3 HEAD AND IS BOLTED TO THE TOOLBAR.

1шт.

41

1988826C2

GUARD

SHIELD - plant, right-hand, not shown, 5 row No. 3

1шт.

42

434-612

CARRIAGE BOLT,Sht Sq Nk, 3/8" - 16 x 3/4", Gr 5

BOLT - carriage, 3/8 NC x 3/4 inch

2шт.

43

231-5146

FLANGE NUT,3/8"-16

2шт.

Выбрано товаров: 0