Запчасти Case IH 2155 (9C-14) - FAN DRIVE (15) - HANDLING SYSTEM

Схема запчастей Case IH 2155 - (9C-14) - FAN DRIVE (15) - HANDLING SYSTEM
3
10
4
6
5
9
1
2
8
7
FIT
1:1
100%

Артикул

Название

Примечание

Количество

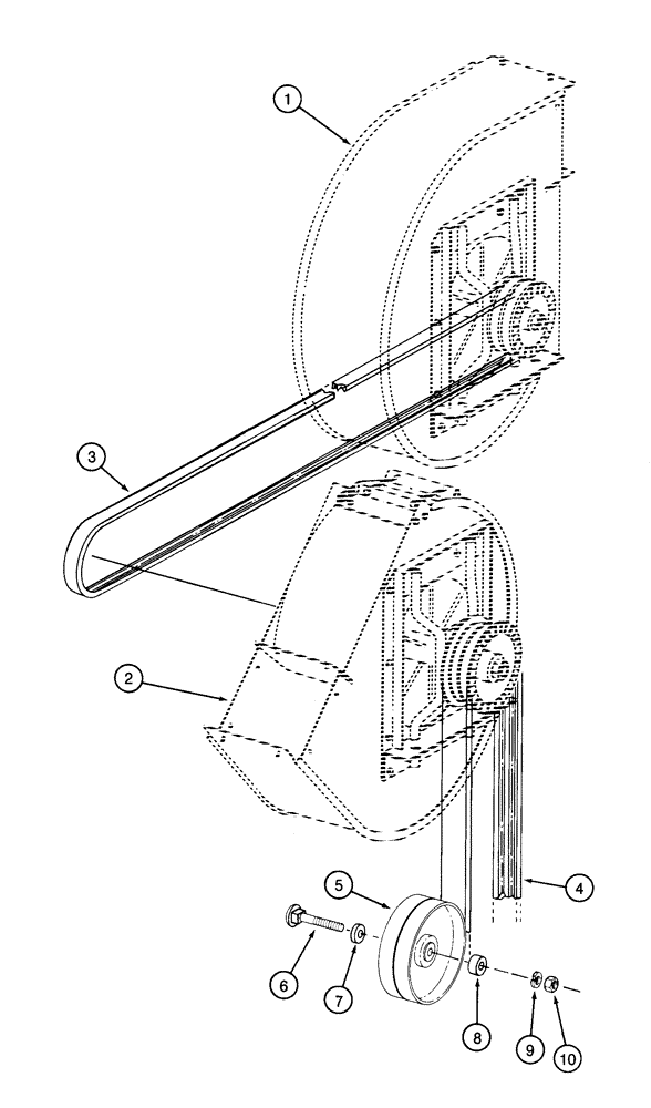
1

1345030C1

FAN

ASSEMBLY - front, parts list pages 9C-17, 9-19

1шт.

2

1345031C2

FAN

ASSEMBLY - rear, parts list page 9C-21, replaces 1345031C1 fan

1шт.

3

1338328C1

V-BELT,12.45 mm W x 1223.87 mm L

Fan Drive, Front 12.45 mm W x 1223.87 mm L

1шт.

4

1546117C1

BELT

- drive, fan

1шт.

5

1990198C1

PULLEY

- fan engage idler, 10 inch diameter

1шт.

6

413-860

BOLT,Hex, 1/2" - 13 x 3-3/4", Gr 5

1шт.

7

622535R1

SPACER,1/2" X-Strng Pipe x 7/16"

front drive 1/2" X-Strng Pipe x 7/16"

1шт.

8

25847D

SPACER,1/2" X-Strng Pipe x 11/16"

- 1/2 x 11/16 inch

1шт.

9

80679

LOCK WASHER,1/20.507 CST ZND

WASHER, LOCK, 1/2"

1шт.

10

425-108

NUT,1/2" - 13, Gr 5

NUT, , Hex 1/2"-13, G5

1шт.

Выбрано товаров: 10