Запчасти Case IH 2155 (9C-40) - UNLOADING CONVEYOR AND DRIVE (15) - HANDLING SYSTEM

Схема запчастей Case IH 2155 - (9C-40) - UNLOADING CONVEYOR AND DRIVE (15) - HANDLING SYSTEM
30
9
24
9
15
8
32
5
22
33
15
34
1
6
21
34
20
2
15
13
3
10
19
28
14
8
17
2
33
32
29
4
3
16
7
10
18
FIT
1:1
100%

Артикул

Название

Примечание

Количество

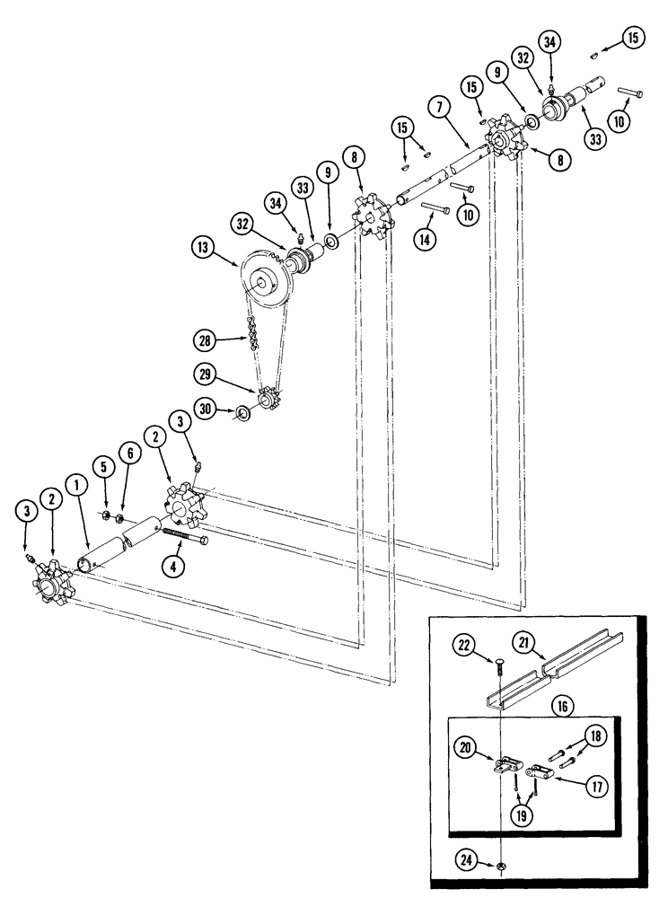
1

1260354C2

TUBE,48.26 mm OD, 1628 mm Length

PIPE - idler adjustment

1шт.

2

1270109C1

SPROCKET ASSY.

SPROCKET - idler, 7 teeth

4шт.

3

219-87

LUBE NIPPLE,1/4" - 28 NPTF

NIPPLE, LUBE, 1/4"-28 x .56" lg, Self-Tap

4шт.

4

1262728C2

BOLT,Hex, 3/8" x 6"

BOLT - hex, 3/8 NC x 6 inch

4шт.

5

425-146

JAM NUT,3/8" - 16, Gr 5

- hex, jam, 3/8 inch NC, if used

4шт.

6

231-1446

NUT,3/8" - 16, Gr 5

NUT, LOCK, 3/8"-16, GB

4шт.

7

1260366C2

SHAFT

- drive

1шт.

8

1269910C2

SPROCKET ASSY.

SPROCKET - drive, 7 teeth

4шт.

9

495-81213

WASHER,35.71mm ID x 50.8mm OD x 1.7mm Thk

- flat, 1-13/32 x 2 x 3/64 inch

8шт.

10

441015R1

LOCK PIN,5/16" x 2 1/4", Slotted

Headed 5/16" x 2 1/4", Slotted

4шт.

13

1260365C3

PINION

SPROCKET - drive, 30 teeth

1шт.

14

138-2029

PIN,7.92mm OD x 63.5mm L, Coiled

1шт.

15

117997

WOODRUFF KEY,#25, 5/16" x 1 1/2", HT

5шт.

16

127910A1

CHAIN (AG),80 Links x 58.75mm = 4700mm

CHAIN - conveyor, 1/2 length, 4 Row Wide and 5 Row Narrow

8шт.

For complete chain, order 2 P/N 127910A1 or 41 links of 821017C2 and 20 attaching links 821016C1.

1шт.

16

140154A1

CHAIN,88 Links x 58.75mm = 5170mm

- conveyer, 1/2 length, 5 Row Wide

8шт.

For complete chain, order 2 P/N 140154A1 or 55 links of 821017C2 and 22 attaching links 821016C1.

1шт.

17

821017C2

LINK,Chain

LINK ASSEMBLY - chain

1шт.

18

821369C1

PIN,7.79mm OD x 47.93mm L

- connecting

1шт.

19

432-812

COTTER PIN,3/4" OAL x 1/8" W

PIN, SPLIT (COTTER), 1/8" x 3/4"

1шт.

20

821016C1

LINK,Chain

LINK - attaching

1шт.

21

1263020C1

CONDUIT

CHANNEL - conveyor slat, 4 Row Wide and 5 Row Narrow use quantity of 40, 5 Row Wide uses quantity of 44

40-44шт.

22

434-516

CARRIAGE BOLT,Sht Sq Nk, 5/16" - 18 x 1", Gr 5

BOLT - carriage, 5/16 NC x 1 inch, 2 used per channel

1шт.

24

231-1435

LOCK NUT,5/16"-18, GB

NUT - hex, self-locking, 5/16 inch NC, 2 used per channel

1шт.

28

141492A1

CHAIN (CE)

CHAIN ASSEMBLY - conveyor drive, 71 link, No. 60HG, mother drive

1шт.

28

141493A1

LINK

- connecting, single pitch, No. 60HH

1шт.

29

1260364C1

SPROCKET ASSY.

SPROCKET - drive, 10 teeth

1шт.

30

495-81070

WASHER,1 1/32" x 1 1/2" x .120"

- flat, 1-1/32 x 1-1/2 x 7/64 inch

1шт.

32

1278954C91

BEARING ASSY

ASSEMBLY - drive shaft

4шт.

33

1278956C1

BUSHING,34.95mm ID x 39.7mm OD x 63.75mm L

- bearing

1шт.

34

219-87

LUBE NIPPLE,1/4" - 28 NPTF

NIPPLE, LUBE, 1/4"-28 x .56" lg, Self-Tap

4шт.

Выбрано товаров: 31