Запчасти Case IH 2155 (2-19A) - MANIFOLDS, 6TA-830 EMISSIONS CERTIFIED ENGINE, COTTON PICKER P.I.N. JJC0156230 AND AFTER (01) - ENGINE

Схема запчастей Case IH 2155 - (2-19A) - MANIFOLDS, 6TA-830 EMISSIONS CERTIFIED ENGINE, COTTON PICKER P.I.N. JJC0156230 AND AFTER (01) - ENGINE
9
4
15
11
17
14
8
12
1
7
3
5
10
9
2
13
16
10
FIT
1:1
100%

Артикул

Название

Примечание

Количество

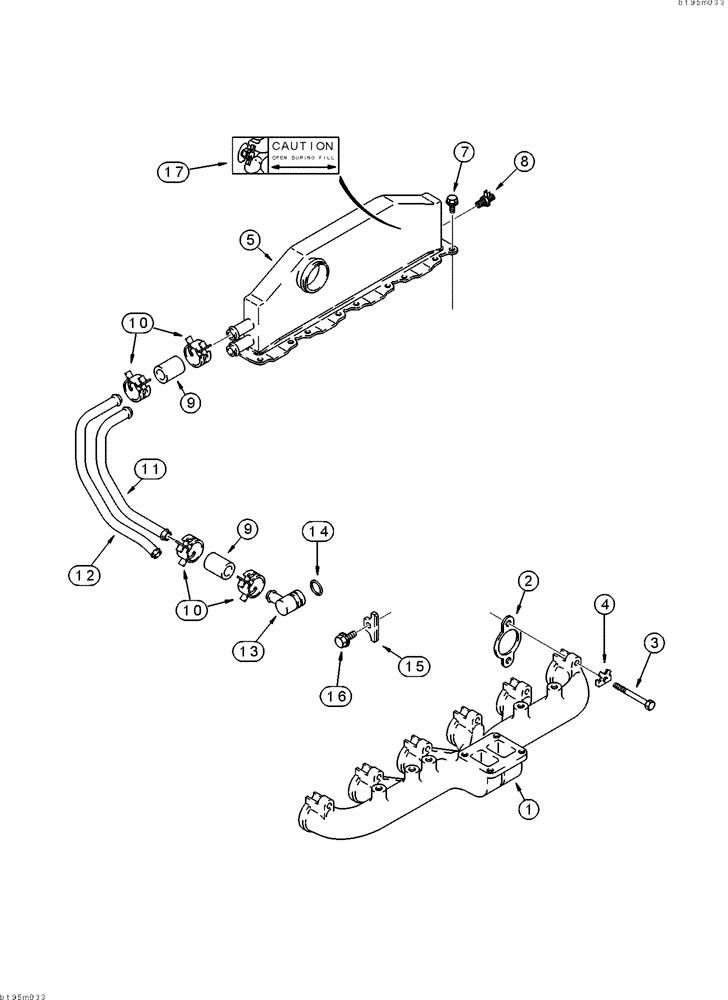
1

J906741

MANIFOLD

- exhaust

1шт.

2

J929012

GASKET,0.5mm Thk

- exhaust manifold, 0.54 mm thick

6шт.

3

J929537

BOLT

- hex, special, 10x70 mm

12шт.

4

J914708

LOCKING PLATE

PLATE - locking, manifold bolt

12шт.

5

J924731

AFTERCOOLER

- air intake, manifold

1шт.

6

J823494

SEALANT

GASKET - silicone liquid sealant, 3 ounce tube, intake manifold aftercooler, not shown

1шт.

7

J918109

FLANGE BOLT,Hex, M8 x 1.25 x 25mm

SCREW, , Special, Aftercooler to cylinder head, Intake manifold Hex Flg Hd, M8 x 1.25 x 25

18шт.

8

J909394

COCK, DRAIN

VALVE - drain, air bleed, intake, aftercooler manifold

1шт.

9

J918611

HOSE,18.50 mm ID x 63.00 mm

Supply Tube to Aftercooler, Intake Manifold 18.50 mm ID x 63.00 mm

4шт.

10

J918163

CLIP

CLAMP - spring type, hose retaining, intake, aftercooler manifold

8шт.

11

J906436

TUBE,19.05 mm OD x 385.3 mm L

- water inlet, intake, aftercooler manifold

1шт.

12

J908402

TUBE,19.05 mm OD

- water outlet, intake, aftercooler manifold

1шт.

13

J917394

ELBOW

CONNECTOR - water inlet, intake, aftercooler manifold

2шт.

14

238-5120

O-RING,0.103" Thk x 0.987" ID, -120, Cl 5, 75 Duro

Intake, aftercooler manifold -120, 70 Duro, .987" ID x .103" Thk

2шт.

15

J906439

PLATE

- mounting, intake, aftercooler manifold

1шт.

16

845-8016

BOLT,Hvy Hex, M8 x 16mm, Cl 8.8

- heavy hex flange, 8 - 1.25 x 16 mm, Intake, aftercooler manifold

1шт.

17

J910778

DECAL

- Caution, open during fill, intake, aftercooler manifold

1шт.

Выбрано товаров: 17