Запчасти Case IH 2155 (9D-32) - BASKET DOOR, CONVEYOR DRIVE (16) - BASKET

Схема запчастей Case IH 2155 - (9D-32) - BASKET DOOR, CONVEYOR DRIVE (16) - BASKET
8
2
8
4
6
9
7
1
4
5
13
4
10
6
6
1
7
6
4
7
9
3
7
8
9
5
8
9
15
10
10
5
14
1
5
FIT
1:1
100%

Артикул

Название

Примечание

Количество

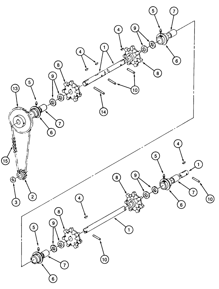
1

1260366C2

SHAFT

- drive

1шт.

2

1260364C1

SPROCKET ASSY.

SPROCKET - drive, 10 teeth

1шт.

3

495-81070

WASHER,1 1/32" x 1 1/2" x .120"

- flat, 1-1/32 x 1-1/2 x 7/64 inch

1шт.

4

117997

WOODRUFF KEY,#25, 5/16" x 1 1/2", HT

5шт.

5

219-87

LUBE NIPPLE,1/4" - 28 NPTF

NIPPLE, LUBE, 1/4"-28 x .56" lg, Self-Tap

4шт.

6

1278954C91

BEARING ASSY

ASSEMBLY - drive shaft

4шт.

7

1278956C1

BUSHING,34.95mm ID x 39.7mm OD x 63.75mm L

- bearing

1шт.

8

1269910C2

SPROCKET ASSY.

SPROCKET - drive, 7 teeth

4шт.

9

495-81213

WASHER,35.71mm ID x 50.8mm OD x 1.7mm Thk

- flat, 1-13/32 x 2 x 3/64 inch

8шт.

10

441015R1

LOCK PIN,5/16" x 2 1/4", Slotted

Headed 5/16" x 2 1/4", Slotted

4шт.

13

1260365C3

PINION

SPROCKET - drive, 30 teeth

1шт.

14

138-2029

PIN,7.92mm OD x 63.5mm L, Coiled

1шт.

141492A1

CHAIN (CE)

CHAIN ASSEMBLY - conveyor drive, 71 link, No. 60HG

1шт.

15

NSS

NOT SOLD SEPARAT

CHAIN - conveyor drive, single link, No. 60HG

71шт.

16

141493A1

LINK

- connecting, single pitch, No. 60HH, not shown

1шт.

Выбрано товаров: 15