Запчасти Case IH 2155 (9D-46) - BASKET INTERLOCK (16) - BASKET

Схема запчастей Case IH 2155 - (9D-46) - BASKET INTERLOCK (16) - BASKET
2
7
15
4
13
6
14a
11
6
14
15
5
9
8
16
3
12
10
8
16
1
9
FIT
1:1
100%

Артикул

Название

Примечание

Количество

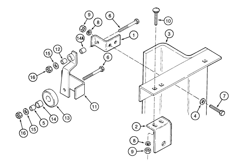
1

87361C2

SUPPORT

BRACKET - roller pivot

1шт.

2

87354C1

ANGLE

- switch support

1шт.

3

REF

INSTRUCTION

MAST ASSEMBLY - basket, see page 9D-39 for correct assembly

1шт.

4

495-81132

WASHER,0.41" ID x 0.88" OD x 0.18" Thk

1шт.

5

1994765C2

SPACER

- 53/64 inch long, switch interlock angle

1шт.

6

413-524

BOLT,Hex, 5/16" - 18 x 1-1/2", Gr 5

- hex, 5/16 NC x 1-1/2 inch

2шт.

7

413-620

BOLT,Hex, 3/8" - 16 x 1-1/4", Gr 5

- hex, 3/8 NC x 1-1/4 inch

2шт.

8

492-11038

LOCK WASHER,3/8"

WASHER, LOCK, 3/8"

4шт.

9

425-106

NUT,3/8"-16, Cl 5

4шт.

10

434-616

CARRIAGE BOLT,Sht Sq Nk, 3/8" - 16 x 1", Gr 5

BOLT - carriage, 3/8 NC x 1 inch

2шт.

11

117528A1

SUPPORT

ANGLE - switch interlock, 11/32 inch ID lower mounting hole

1шт.

12

1994863C1

BUSHING,12.72mm ID x 15.27mm OD x 19mm L

- angle, switch interlock, replaces 216552C1 bushing

1шт.

13

117530A1

ROLL

ER - interlock, with bushing

1шт.

14

216552C1

SPACER

BUSHING - roller

1шт.

14a

1994765C2

SPACER

- 53/64 inch long, switch interlock angle

1шт.

15

495-81117

WASHER,.344" x 1" x .120"

- flat, 11/32 x 1 x 7/64 inch

2шт.

16

232-4115

LOCK NUT,5/16"-18, GC

NUT, LOCK, 5/16"-18, GC

2шт.

Выбрано товаров: 17