Запчасти Case IH 2155 (2-41A) - CYLINDER BLOCK, 6TA-830 EMISSIONS CERTIFIED ENGINE, COTTON PICKER P.I.N. JJC0156230 AND AFTER (01) - ENGINE

Схема запчастей Case IH 2155 - (2-41A) - CYLINDER BLOCK, 6TA-830 EMISSIONS CERTIFIED ENGINE, COTTON PICKER P.I.N. JJC0156230 AND AFTER (01) - ENGINE
16
27
14
12
9
12
28
13
11
7
20
22
10
7
6
8
7
29
18
3
15
17
2
5
7
1
21
26
25
19
24
14
8
23
14
4
FIT
1:1
100%

Артикул

Название

Примечание

Количество

140257A2

ENGINE ASSEMBLY

ENGINE ASSY ENGINE ASSEMBLY - 6TA-830 Emissions Certified, complete, for service order basic engine below

1шт.

The engine part number is stamped on a metal tag, which is mounted on the front gear cover.

1шт.

198833A1

BASIC ENGINE

Includes all parts except starter, alternator, fan, fan belt, air cleaner, muffler, exhaust manifold, flywheel & housing, oil fill & dipstick, fuel injection pump, injectors & lines, front pulley, belt tensioner, turbocharger & aftercooler; See Note

1шт.

198833A1R

REMAN-BASIC ENGINE

Remanufactured Basic Engine Assembly, assembly includes short block assembly, cylinder head, valve cover, front cover, oil pan, water pump, thermostat and gasket kit to transfer trim parts

1шт.

198833A1C

CORE-BASIC ENGINE

Return Number

1шт.

JR931187

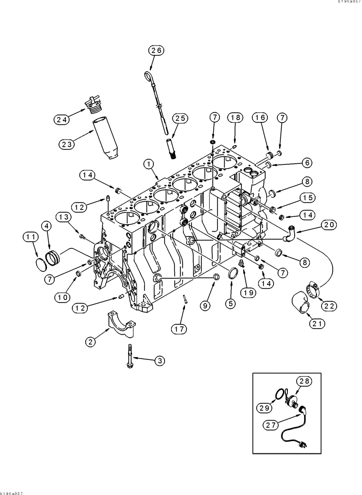
BLOCK

BLOCK ASSEMBLY - short, remanufactured, North America only, component parts shown on this page do not apply to the remanufactured assembly

1шт.

JC931187

CORE-ENGINE

RETURN NUMBER - use this part number to return block core for credit when using a remanufactured assembly, N.A. Only

1шт.

1

J931187

SKELETON ENGINE

BLOCK ASSEMBLY - short, new, includes stripped block, pistons, connecting rods and bearings, crankshaft and bearings

1шт.

2

J917313

BEARING CAP

CAP - bearing, main

7шт.

3

J916369

FLANGE BOLT,Hex, M14 x 2 x 128mm, Cl 10.9

SCREW, , Bearing cap to block Hex Flg Hd, M14 x 128

14шт.

4

J901685

BUSHING

BUSHING - camshaft, see page 2-37B, item 6

7шт.

5

A77782

PLUG

PLUG - expansion, 58 mm OD

1шт.

6

A77586

PLUG

PLUG - expansion, 28.9 mm OD

1шт.

7

A77506

PLUG

PLUG - expansion, 21 mm OD

4шт.

8

J905401

PLUG

PLUG - expansion, 35 mm OD

4шт.

9

J920706

PLUG

PLUG - expansion, 22 mm OD

1шт.

10

A77530

PLUG

PLUG - expansion, 30 mm OD, not used in this application

2шт.

11

41-3044

PLUG,Exp, 2 3/4"

PLUG, Exp, 2 3/4"

1шт.

12

J901846

PIN,12.01mm OD x 24mm L

PIN - dowel

4шт.

13

J906619

PLUG,1/8" - 27

PLUG - hex, 1/8 inch PT

6шт.

14

A77429

PLUG

PLUG - hex socket, 1/2 inch PT

4шт.

15

A77505

PLUG

PLUG - hex socket, 3/4 inch PT

2шт.

16

A77533

PLUG

PLUG - hex socket, 1 inch PT

1шт.

17

J928031

NOZZLE,8.5mm OD x 30mm L

NOZZLE - piston cooling

12шт.

18

J900257

PIN,10.01mm OD x 16mm L

PIN - dowel, 16 mm long

2шт.

19

217-103

COCK, DRAIN

VALVE - 1/4 inch PT, coolant

1шт.

20

J903744

PIPE FITTING,22.42 mm ID x 28 mm OD x 90.2, 64 mm L

TUBE - turbocharger oil drain, not used in this application

1шт.

21

J920762

ELBOW

HOSE - elbow, water, 79 mm (3-1/8 inch)

1шт.

22

J918521

HOSE CLAMP,59mm - 83mm

CLAMP - adj, 1-13/16 - 2-3/4 inch dia, hose, water

1шт.

23

J921068

TUBE,35.13 - 52.39 mm OD x 180 mm L

TUBE - oil filler

1шт.

24

A77424

FILLER CAP

CAP - oil fill tube

1шт.

25

J905779

TUBE,9.52 mm OD x 228 mm L

TUBE - dipstick

1шт.

26

J908094

DIPSTICK

DIPSTICK - oil

1шт.

196804A1

KIT

KIT - engine block heater

1шт.

27

J905113

CABLE

CABLE - engine block heater

1шт.

28

NSS

NOT SOLD SEPARAT

ELEMENT - heater, 120 volt, engine block

1шт.

29

J910517

O-RING

O-RING - heater sealing, engine block

1шт.

30

L18337

CABLE TIE,9.95"-12.1" lg

CABLE STRAP STRAP - tie, not shown, engine block, heater

1шт.

Выбрано товаров: 38