Запчасти Case IH 2155 (5-10) - STEERING AXLE BOLSTER (04) - STEERING

Схема запчастей Case IH 2155 - (5-10) - STEERING AXLE BOLSTER (04) - STEERING
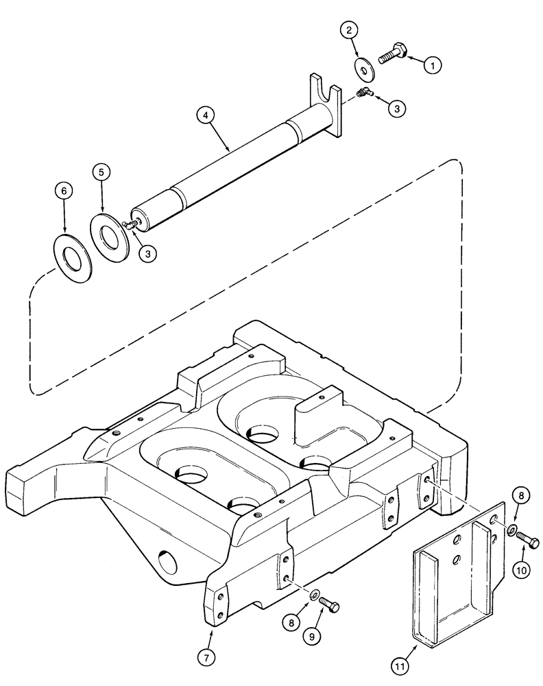
9
6
3
8
5
10
4
2
3
8
1
11
7
FIT
1:1
100%

Артикул

Название

Примечание

Количество

1

30225R1

BOLT,Hex, M12 x 1.75 x 30mm, Cl 10.9

- hex, 12 - 1.75 x 30 mm

1шт.

2

101936C2

WASHER

- flat, hardened, special, support, pivot, Serial Range: pin-front

1шт.

3

219-41

LUBE NIPPLE,65 Degree Elbow, 1/8" - 27 NPTF

NIPPLE, LUBE, 65º, 1/8" NPT x 1.20" lg

2шт.

4

1348230C1

PIVOT PIN,49.95mm OD x 530mm L

PIN - pivot

1шт.

5

A177855

SEALING WASHER,50.3mm ID x 90mm OD x 4.9mm Thk

thrust, axle pivot

2шт.

6

A177854

WASHER,50.3mm ID x 90mm OD x 1.6mm Thk

flat

1шт.

7

137316A1

SUPPORT ASSY.

BOLSTER - steering, replaces A185918 bolster

1шт.

8

892-16016

LOCK WASHER,M16, Hvy

- lock, 16 mm

16шт.

9

627-16050

BOLT,Hex, M16 x 2 x 50mm, Cl 10.9, Full Thd

8шт.

10

827-16060

BOLT,Hex, M16 x 2 x 60mm, Cl 10.9

8шт.

11

1990387C1

SUPPORT

BRACKET - axle sway, left-hand

1шт.

12

1990388C1

SUPPORT

BRACKET - axle sway, right-hand, not shown

1шт.

Выбрано товаров: 12