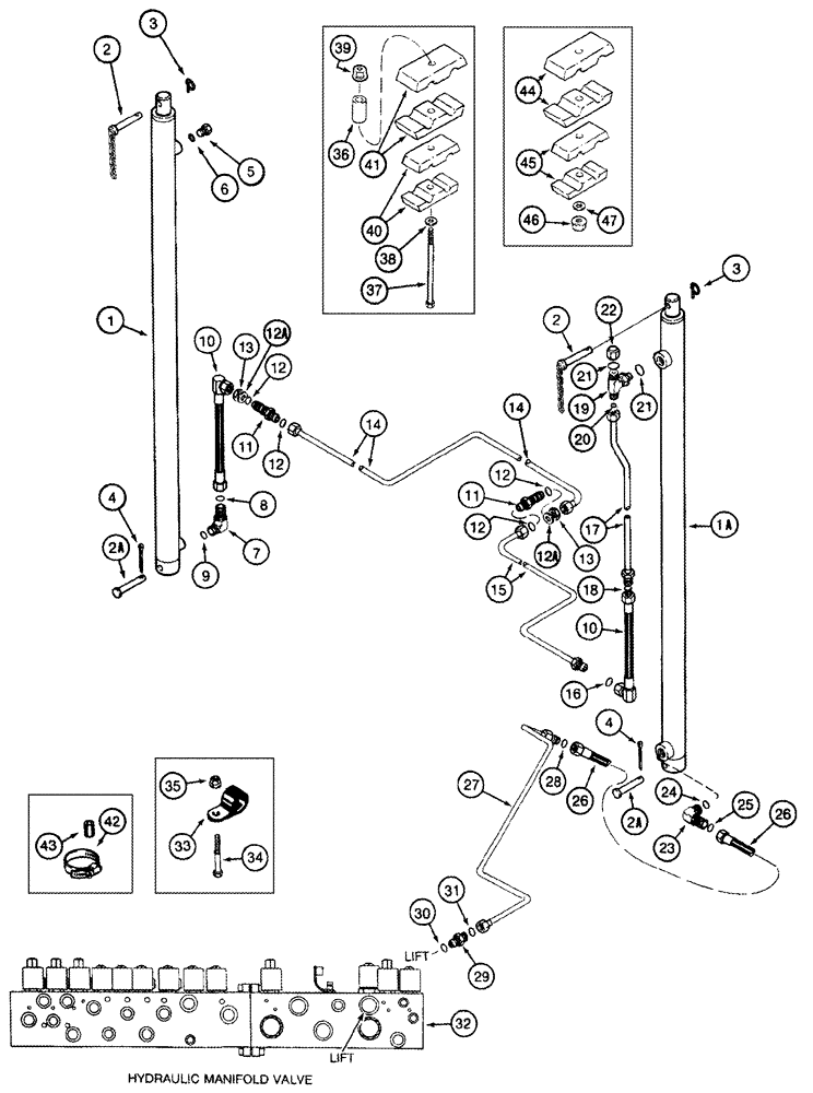
Запчасти Case IH 2555 (08-30) - BASKET LIFT CYLINDER SYSTEM (07) - HYDRAULICS

Схема запчастей Case IH 2555 - (08-30) - BASKET LIFT CYLINDER SYSTEM (07) - HYDRAULICS
2a
47
34
44
10
5
14
27
39
19
7
8
15
2
11
11
36
12a
26
12
3
40
16
6
32
29
33
4
23
9
31
21
35
3
42
45
30
12
46
43
12
1a
41
12
12a
2a
25
4
14
38
18
17
1
2
22
37
20
13
26
24
21
13
10
28
FIT
1:1
100%

Артикул

Название

Примечание

Количество

1

REF

INSTRUCTION

Cylinder Assy, Basket Lift Slave, See Figure(s) 08-31, 08-32

1шт.

1a

REF

INSTRUCTION

Cylinder Assy, Basket Lift Master, See Figure(s) 08-33, 08-34

1шт.

2

247880A1

LARGE PIN

PIN, LARGE With Chain, Upper Mounting

2шт.

2a

1288771C1

HEADED PIN

Cylinder, Lower Mounting

2шт.

3

A30338

PIN

2шт.

4

432-1620

COTTER PIN,1/4" x 1 1/4"

2шт.

5

214389

PLUG,3/4" - 16 ORB

Includes Ref. 6

1шт.

6

237-6008

O-RING,0.087" Thk x 0.644" ID, -908, Cl 6, 90 Duro

1шт.

7

201-343

ELBOW,90 Degree Elbow, 1" - 14 Male ORFS x 3/4" - 16 Male ORB

1 in fc x 3/4 Or, Inc. 8, 9

1шт.

8

237-6008

O-RING,0.087" Thk x 0.644" ID, -908, Cl 6, 90 Duro

1шт.

9

238-6016

O-RING,0.07" Thk x 0.614" ID, -16, Cl 6, 90 Duro

1шт.

10

1988957C1

HOSE

295 mm (11-5/8 in), Basket Lift Slave

2шт.

11

201-123

HYD CONNECTOR,1"-14, Blkhd, ORFS

1 fc x 1 fc, Inc. 12

2шт.

12

238-6016

O-RING,0.07" Thk x 0.614" ID, -16, Cl 6, 90 Duro

2шт.

12a

495-11106

WASHER,1", SAE

(1-1/16 x 2 x 1/8")

2шт.

13

201-919

BHD LOCK NUT,1" - 14

2шт.

14

1988924C1

HYD TUBE,0.625" OD

Basket Lift, Rear

1шт.

15

1988925C1

HYD TUBE,0.625" OD

Basket Lift, Middle

1шт.

16

238-6016

O-RING,0.07" Thk x 0.614" ID, -16, Cl 6, 90 Duro

1шт.

17

1988926C1

HYD TUBE,0.625" OD

Basket Lift, Master Cylinder

1шт.

18

238-6016

O-RING,0.07" Thk x 0.614" ID, -16, Cl 6, 90 Duro

1шт.

19

201-424

TEE,1 3/16"-12 x 1 1/16"-12 Run, ORFS

1-1/16 Or x 1-3/16 fc, Inc. 20, 21

1шт.

20

237-6012

O-RING,0.116" Thk x 0.924" ID, -912, Cl 6, 90 Duro

1шт.

21

238-6018

O-RING,0.07" Thk x 0.739" ID, -18, Cl 6, 90 Duro

2шт.

22

201-907

CAP,1-3/16" - 12 ORFS

1шт.

23

201-307

ELBOW,90 Degree Elbow, 1-3/16" - 12 Male ORFS x 1-1/16" - 12 Male ORB

1-3/16 fc x 1-1/16 Or, Inc. 24, 25

1шт.

24

238-6018

O-RING,0.07" Thk x 0.739" ID, -18, Cl 6, 90 Duro

1шт.

25

237-6012

O-RING,0.116" Thk x 0.924" ID, -912, Cl 6, 90 Duro

1шт.

26

1988956C1

HOSE,15.88mm ID x 825mm L

825 mm (32-1/2 in), Basket Lift, Supply

1шт.

27

1988927C1

TUBE

Basket Lift, Front

1шт.

28

238-6018

O-RING,0.07" Thk x 0.739" ID, -18, Cl 6, 90 Duro

1шт.

29

201-104

HYD CONNECTOR,1-3/16" - 12 Male ORFS x 1-1/16" - 12 Male ORB

Includes 30, 31

1шт.

30

237-6012

O-RING,0.116" Thk x 0.924" ID, -912, Cl 6, 90 Duro

1шт.

31

238-6018

O-RING,0.07" Thk x 0.739" ID, -18, Cl 6, 90 Duro

1шт.

32

REF

INSTRUCTION

Valve, Manifold, Hydraulic, See Figure(s) 08-20 - 08-23

1шт.

33

515-23190

CLAMP,3/4", Insul, 3/8" Bolt

1шт.

34

413-512

BOLT,Hex, 5/16" - 18 x 3/4", Gr 5

1шт.

35

231-5145

SERRATED NUT,Flg, USR, 5/16"-18

1шт.

36

11531N

SPACER,3/8" Pipe x 2"

3/8 x 2

1шт.

37

413-580

BOLT,Hex, 5/16" - 18 x 5", Gr 5

1шт.

38

495-21038

WASHER,5/16"

(flat, 3/8 x 7/8 x 3/32")

1шт.

39

231-5145

SERRATED NUT,Flg, USR, 5/16"-18

1шт.

40

1546024C1

CLAMP

2 piece

1шт.

41

1546026C1

CLAMP

1шт.

42

214-1572

HOSE CLAMP,#72, 4.06" - 5", Type F Worm, W/ Liner

1шт.

43

163493C1

STRIP,19.05mm ID x 25.4mm OD x 45.7mm L

3/4 ID x 1-3/4

1шт.

44

1546027C1

CLAMP

1шт.

45

1546025C1

CLAMP

2 piece

1шт.

46

231-5145

SERRATED NUT,Flg, USR, 5/16"-18

1шт.

47

495-21038

WASHER,5/16"

(flat, 3/8 x 7/8 x 3/32")

1шт.

Выбрано товаров: 50