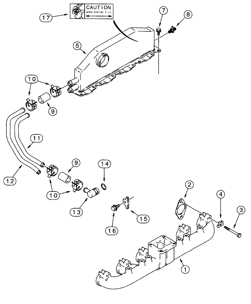
Запчасти Case IH 2555 (02-10) - MANIFOLDS (01) - ENGINE

Схема запчастей Case IH 2555 - (02-10) - MANIFOLDS (01) - ENGINE
11
1
16
10
9
17
12
14
9
13
4
15
10
2
8
5
7
3
FIT
1:1
100%

Артикул

Название

Примечание

Количество

1

J932180

MANIFOLD

Exhaust

1шт.

2

J932063

MANIFOLD GASKET,1.78mm Thk

6шт.

3

J929537

BOLT

12шт.

4

J914708

LOCKING PLATE

Intake

12шт.

5

J924731

AFTERCOOLER

1шт.

6

J823494

SEALANT

3 oz, Not Illustrated

1шт.

7

J918109

FLANGE BOLT,Hex, M8 x 1.25 x 25mm

18шт.

8

J909394

COCK, DRAIN

1шт.

9

J918611

HOSE,18.50 mm ID x 63.00 mm

4шт.

10

J937613

HOSE CLAMP

8шт.

11

J906436

TUBE,19.05 mm OD x 385.3 mm L

1шт.

12

J908402

TUBE,19.05 mm OD

1шт.

13

J917394

ELBOW

2шт.

14

238-5120

O-RING,0.103" Thk x 0.987" ID, -120, Cl 5, 75 Duro

2шт.

15

J906439

PLATE

1шт.

16

845-8016

BOLT,Hvy Hex, M8 x 16mm, Cl 8.8

1шт.

17

J910778

DECAL

1шт.

Выбрано товаров: 17