Запчасти Case IH 2555 (09D-16) - BASKET DOOR - CONVEYOR DRIVE (16) - BASKET

Схема запчастей Case IH 2555 - (09D-16) - BASKET DOOR - CONVEYOR DRIVE (16) - BASKET
14
15
6
9
1
8
6
5
7
7
5
8
7
4
2
9
8
17
5
3
6
13
4
9
10
4
9
6
1
1
4
10
10
5
8
7
FIT
1:1
100%

Артикул

Название

Примечание

Количество

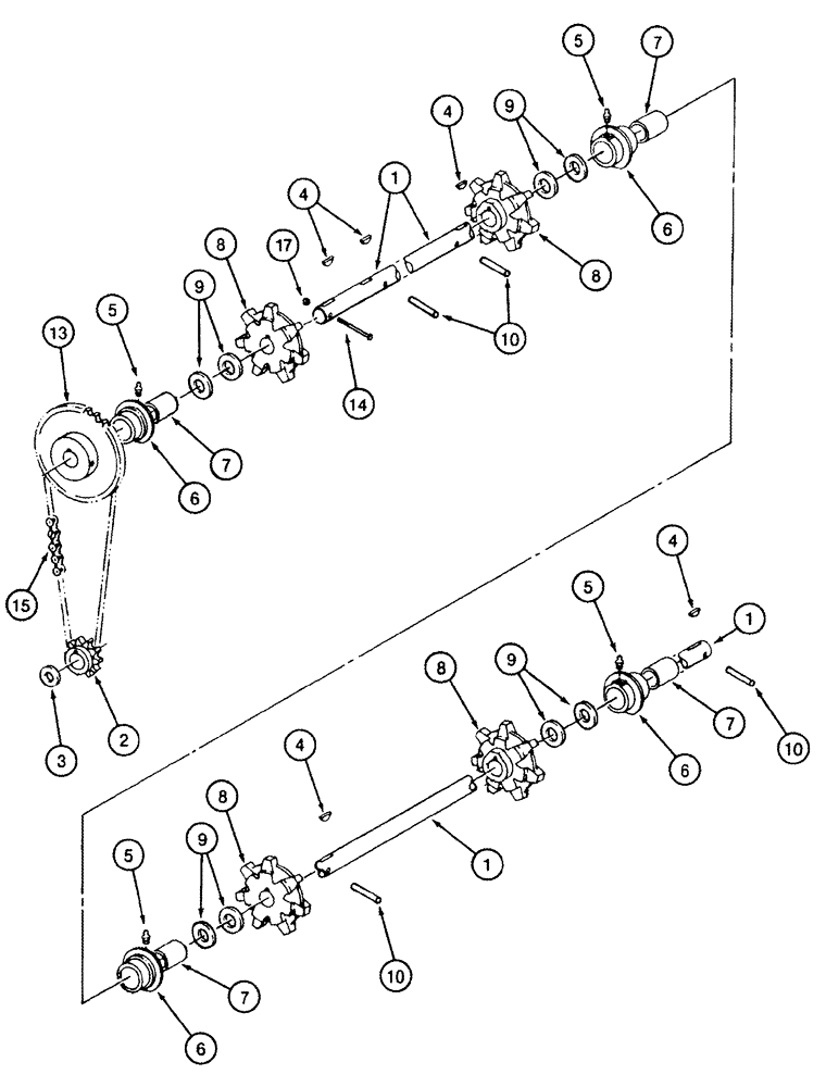
1

1260366C2

SHAFT

1шт.

2

1260364C1

SPROCKET ASSY.

10T

1шт.

3

495-81069

WASHER,1-1/32" ID x 1-1/2" OD x 3/50" Thk

1-1/32 x 1-1/2 x 1/16

1шт.

4

126-139

WOODRUFF KEY,#25, 5/16" x 1 1/2", HT

5шт.

5

219-87

LUBE NIPPLE,1/4" - 28 NPTF

4шт.

6

1278954C91

BEARING ASSY

Drive Shaft, Inc. 7

4шт.

7

1278956C1

BUSHING,34.95mm ID x 39.7mm OD x 63.75mm L

1шт.

8

1269910C2

SPROCKET ASSY.

7T

4шт.

9

495-81213

WASHER,35.71mm ID x 50.8mm OD x 1.7mm Thk

1-13/32 x 2 x 3/64

4шт.

10

38-12036

LOCK PIN,5/16" x 2 1/4", Slotted

5/16" x 2 1/4", Slotted

4шт.

13

1260365C5

SPROCKET ASSY.

30T

1шт.

14

326-548

BOLT,Hex, 5/16" - 18 x 3", Gr 8

1шт.

141492A2

CHAIN (AG),60 HZ, 72 Links x 19.05mm = 1371.6mm

71 links; No. 60HG, Conveyor Drive, Inc. 15, 16

1шт.

15

NSS

NOT SOLD SEPARAT

No. 60HG, Chain, Single Link

71шт.

16

141493A1

LINK

No. 60HH, Single Pitch, Not Illustrated

1шт.

17

231-1445

NUT,5/16"-18, GB

1шт.

Выбрано товаров: 16