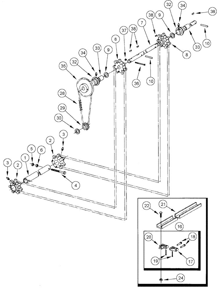
Запчасти Case IH 2555 (09D-17) - UNLOADING CONVEYOR AND DRIVE (16) - BASKET

Схема запчастей Case IH 2555 - (09D-17) - UNLOADING CONVEYOR AND DRIVE (16) - BASKET
3
3
17
33
32
21
10
36
30
37
34
35
8
24
7
6
8
2
22
4
18
1
5
2
20
10
19
32
9
38
34
33
9
16
38
28
38
29
FIT
1:1
100%

Артикул

Название

Примечание

Количество

1

1260354C2

TUBE,48.26 mm OD, 1628 mm Length

2шт.

2

1270109C1

SPROCKET ASSY.

7T, Idler

4шт.

3

219-87

LUBE NIPPLE,1/4" - 28 NPTF

4шт.

4

1262728C2

BOLT,Hex, 3/8" x 6"

3/8 x 6

4шт.

5

425-146

JAM NUT,3/8" - 16, Gr 5

If Used

4шт.

6

231-1446

NUT,3/8" - 16, Gr 5

4шт.

7

1260366C2

SHAFT

1шт.

8

1269910C1

DRIVE SPROCKET

7T

4шт.

9

495-81213

WASHER,35.71mm ID x 50.8mm OD x 1.7mm Thk

1-13/32 x 2 x 3/64

8шт.

10

38-12036

LOCK PIN,5/16" x 2 1/4", Slotted

5/16" x 2 1/4", Slotted

4шт.

16

127910A1

CHAIN (AG),80 Links x 58.75mm = 4700mm

Conveyor, 4 Row Wide and 5 Row Narrow, Inc. 17 - 20, See Note (1)

8шт.

Note: 1. For complete chain order (2) 127910A1; or 41 links of 821017C2 and 20 attaching links 821016C1.

1шт.

16

140154A1

CHAIN,88 Links x 58.75mm = 5170mm

88 links; No. D667H, Conveyor, 5 Row Wide, Inc. 17 - 20, See Note (2)

8шт.

Note: 2. For complete chain order (2) 140154A1; or 55 links of 821017C2 and 22 attaching links 821016C1.

1шт.

17

821017C2

LINK,Chain

1шт.

18

821369C1

PIN,7.79mm OD x 47.93mm L

1шт.

19

1329837C2

PIN,2.63mm OD

1шт.

20

821016C1

LINK,Chain

Attaching

1шт.

21

1263020C1

CONDUIT

Conveyor Slat, 4 Row Wide and 5 Row Narrow Use Quantity of 40, 5 Row Wide Uses Quantity of 44

40-44шт.

22

434-516

CARRIAGE BOLT,Sht Sq Nk, 5/16" - 18 x 1", Gr 5

2 used per channel

1шт.

24

231-1435

LOCK NUT,5/16"-18, GB

2 used per channel

1шт.

28

141492A1

CHAIN (CE)

71 links; No. 60HG, Inc. 141493A1

1шт.

141493A1

LINK

No. 60HH, Single Pitch

1шт.

29

1260364C1

SPROCKET ASSY.

10T

1шт.

30

495-81069

WASHER,1-1/32" ID x 1-1/2" OD x 3/50" Thk

1-1/32 x 1-1/2 x 1/16

1шт.

32

1278954C91

BEARING ASSY

Drive Shaft, Inc. 33

4шт.

33

1278956C1

BUSHING,34.95mm ID x 39.7mm OD x 63.75mm L

1шт.

34

219-87

LUBE NIPPLE,1/4" - 28 NPTF

4шт.

35

1260365C5

SPROCKET ASSY.

30T

1шт.

36

326-548

BOLT,Hex, 5/16" - 18 x 3", Gr 8

1шт.

37

231-1445

NUT,5/16"-18, GB

1шт.

38

117997

WOODRUFF KEY,#25, 5/16" x 1 1/2", HT

5шт.

Выбрано товаров: 32