Запчасти Case IH 2555 (02-20) - CYLINDER BLOCK (01) - ENGINE

Схема запчастей Case IH 2555 - (02-20) - CYLINDER BLOCK (01) - ENGINE
24
11
5
3
4
22
10
13
2
20
7
15
14
11a
12
18
6
21
19
28
7
8
26
25
16
8
14
7
14
1
12
23
27
9
7
17
29
FIT
1:1
100%

Артикул

Название

Примечание

Количество

140257A3

Complete Engine, Less, Starter, Alternator, Fan, Fan Belt, Air Cleaner, Muffler and Exhaust Pipe, Order 198833A1

1шт.

198833A1

BASIC ENGINE

Less: Starter, Alternator, Fan, Fan Belt, Air Cleaner, Muffler, Exhaust Manifold, Flywheel and Housing, Oil Fill and Dipstick, Fuel Injection Pump, Injectors and Lines, Front Pulley, Belt Tensioner, Turbocharger and Aftercooler.; See Note

1шт.

198833A1R

REMAN-BASIC ENGINE

Reman for New PN 198833A1

1шт.

198833A1C

CORE-BASIC ENGINE

Return Number

1шт.

6-830-LBC

CORE-BASIC ENGINE

1шт.

JR934600

ENGINE, EXCHANGE

ENGINE (EXCHANGE) Short, Remanufactured, Only For N.A.

1шт.

6-830-SHBC

CORE

1шт.

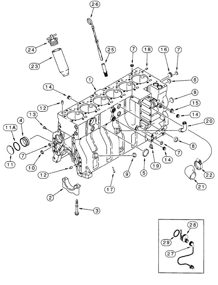
1

J934600

SKELETON ENGINE

Short, With: Stripped Block, Pistons, Connecting Rods and Bearings, Crankshaft and Bearings, Inc. 2 - 20

1шт.

2

J917313

BEARING CAP

7шт.

3

J916369

FLANGE BOLT,Hex, M14 x 2 x 128mm, Cl 10.9

14шт.

4

J901685

BUSHING

See Figure 02-19

7шт.

5

A77782

PLUG

58 mm

1шт.

6

A77586

PLUG

28.9 mm

1шт.

7

A77506

PLUG

21 mm

4шт.

8

J905401

PLUG

35 mm

4шт.

9

J920706

PLUG

22 mm, Not Used

1шт.

10

J920443

PLUG

30 mm, Not Used

2шт.

11

41-3044

PLUG,Exp, 2 3/4"

(70 mm)

1шт.

11a

J926048

O-RING,0.07" Thk x 2.614" ID, -38, Cl 5, 75 Duro

66 mm ID

1шт.

12

J901846

PIN,12.01mm OD x 24mm L

4шт.

13

J906619

PLUG,1/8" - 27

1/8 PT

6шт.

14

A77429

PLUG

1/2 PT

4шт.

15

A77505

PLUG

3/4 PT

1шт.

16

A77533

PLUG

1 PT

1шт.

17

J928031

NOZZLE,8.5mm OD x 30mm L

12шт.

18

J900257

PIN,10.01mm OD x 16mm L

16 mm

2шт.

19

217-103

COCK, DRAIN

1/4" PT

1шт.

20

J903744

PIPE FITTING,22.42 mm ID x 28 mm OD x 90.2, 64 mm L

Not Used

1шт.

21

J920762

ELBOW

79 mm (3-1/8 in)

1шт.

22

J918521

HOSE CLAMP,59mm - 83mm

1-13/16 - 2-3/4

1шт.

23

J921068

TUBE,35.13 - 52.39 mm OD x 180 mm L

1шт.

24

A77424

FILLER CAP

1шт.

25

J905779

TUBE,9.52 mm OD x 228 mm L

1шт.

26

J908094

DIPSTICK

Engine Block Heater

1шт.

196804A1

KIT

120V, Inc. 27 - 29

1шт.

27

196466A1

ELECTRIC CABLE

1829 mm (72 in)

1шт.

28

NSS

NOT SOLD SEPARAT

Element

1шт.

29

J910517

O-RING

1шт.

30

L18337

CABLE TIE,9.95"-12.1" lg

CABLE STRAP 15 in, Not Illustrated

1шт.

A78017

REPAIR KIT

Engine Block, Inc. 31 - 38

1шт.

31

A77912

PACKAGE, REPAIR

Standard, See Figure 02-23

6шт.

32

A77563

BEARING SET

Standard, See Figure 02-23

6шт.

33

J934046

PISTON PIN,45mm OD x 91mm L

Piston, See Figure 02-23

6шт.

34

J945930

BEARING SET

Standard, See Figure 02-21

6шт.

35

J945929

THRUST BEARING

Standard, See Figure 02-21

1шт.

36

A77976

GASKET KIT

Valve Grind, See Figure 02-24

1шт.

37

J938267

CYLINDER HEAD GASKET,2.01mm Thk

See Figure 02-16

1шт.

38

A77999

GASKET KIT

Oil Pan, See Figure 02-15

1шт.

Выбрано товаров: 0