Запчасти Case IH 2555 (08-31) - BASKET LIFT CYLINDER SYSTEM (07) - HYDRAULICS

Схема запчастей Case IH 2555 - (08-31) - BASKET LIFT CYLINDER SYSTEM (07) - HYDRAULICS
2
20
27
12a
18
15
12
2a
38
37
4
25
2a
34
30
11
43
3
40
16
41
12
4
5
1a
12
47
7
9
10
21
11
1
14
24
42
21
2
12a
26
33
3
6
44
10
19
13
39
14
46
29
32
28
26
17
13
23
45
22
31
8
12
35
36
FIT
1:1
100%

Артикул

Название

Примечание

Количество

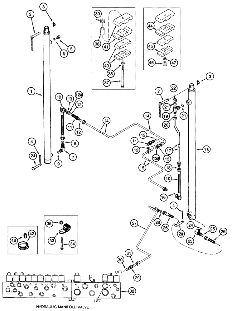
1

REF

INSTRUCTION

Cylinder Assy, Basket Lift Slave, See Page(s) 8-89, 8-91

1шт.

1a

REF

INSTRUCTION

Cylinder Assy, Basket Lift Master, See Page(s) 8-93, 8-95

1шт.

2

247880A1

LARGE PIN

PIN, LARGE , With Chain, Upper Mounting

2шт.

2a

1288771C1

HEADED PIN

Cylinder, Lower Mounting

2шт.

3

A30338

PIN

2шт.

4

432-1620

COTTER PIN,1/4" x 1 1/4"

2шт.

5

214389

PLUG,3/4" - 16 ORB

Includes Ref. 6

1шт.

6

237-6008

O-RING,0.087" Thk x 0.644" ID, -908, Cl 6, 90 Duro

1шт.

7

201-343

ELBOW,90 Degree Elbow, 1" - 14 Male ORFS x 3/4" - 16 Male ORB

Includes 8, 9

1шт.

8

237-6008

O-RING,0.087" Thk x 0.644" ID, -908, Cl 6, 90 Duro

1шт.

9

238-6016

O-RING,0.07" Thk x 0.614" ID, -16, Cl 6, 90 Duro

1шт.

10

1988957C1

HOSE

Basket Lift Slave

2шт.

11

201-123

HYD CONNECTOR,1"-14, Blkhd, ORFS

Includes 12

2шт.

12

238-6016

O-RING,0.07" Thk x 0.614" ID, -16, Cl 6, 90 Duro

2шт.

12a

495-11106

WASHER,1", SAE

2шт.

13

201-919

BHD LOCK NUT,1" - 14

2шт.

14

1988924C1

HYD TUBE,0.625" OD

Basket Lift, Rear

1шт.

15

1988925C1

HYD TUBE,0.625" OD

Basket Lift, Middle

1шт.

16

238-6016

O-RING,0.07" Thk x 0.614" ID, -16, Cl 6, 90 Duro

1шт.

17

1988926C1

HYD TUBE,0.625" OD

Basket Lift, Master Cylinder

1шт.

18

238-6016

O-RING,0.07" Thk x 0.614" ID, -16, Cl 6, 90 Duro

1шт.

19

201-424

TEE,1 3/16"-12 x 1 1/16"-12 Run, ORFS

Includes 20, 21

1шт.

20

237-6012

O-RING,0.116" Thk x 0.924" ID, -912, Cl 6, 90 Duro

1шт.

21

238-6018

O-RING,0.07" Thk x 0.739" ID, -18, Cl 6, 90 Duro

2шт.

22

201-907

CAP,1-3/16" - 12 ORFS

1шт.

23

201-307

ELBOW,90 Degree Elbow, 1-3/16" - 12 Male ORFS x 1-1/16" - 12 Male ORB

Includes 24, 25

1шт.

24

238-6018

O-RING,0.07" Thk x 0.739" ID, -18, Cl 6, 90 Duro

1шт.

25

237-6012

O-RING,0.116" Thk x 0.924" ID, -912, Cl 6, 90 Duro

1шт.

26

1988956C1

HOSE,15.88mm ID x 825mm L

Basket Lift, Supply

1шт.

27

1988927C1

TUBE

Basket Lift, Front

1шт.

28

238-6018

O-RING,0.07" Thk x 0.739" ID, -18, Cl 6, 90 Duro

1шт.

29

201-104

HYD CONNECTOR,1-3/16" - 12 Male ORFS x 1-1/16" - 12 Male ORB

Includes Ref. 30, 31

1шт.

30

237-6012

O-RING,0.116" Thk x 0.924" ID, -912, Cl 6, 90 Duro

1шт.

31

238-6018

O-RING,0.07" Thk x 0.739" ID, -18, Cl 6, 90 Duro

1шт.

32

REF

INSTRUCTION

Valve, Manifold, Hydraulic, See Page(s) 8-49 - 8-71

1шт.

33

515-23190

CLAMP,3/4", Insul, 3/8" Bolt

1шт.

34

413-512

BOLT,Hex, 5/16" - 18 x 3/4", Gr 5

1шт.

35

231-5145

SERRATED NUT,Flg, USR, 5/16"-18

1шт.

36

11531N

SPACER,3/8" Pipe x 2"

1шт.

37

413-580

BOLT,Hex, 5/16" - 18 x 5", Gr 5

1шт.

38

495-21038

WASHER,5/16"

1шт.

39

231-5145

SERRATED NUT,Flg, USR, 5/16"-18

1шт.

40

1546024C1

CLAMP

1шт.

41

1546026C1

CLAMP

1шт.

42

214-1572

HOSE CLAMP,#72, 4.06" - 5", Type F Worm, W/ Liner

1шт.

43

163493C1

STRIP,19.05mm ID x 25.4mm OD x 45.7mm L

3/4 ID x 1-3/4

1шт.

44

1546027C1

CLAMP

1шт.

45

1546025C1

CLAMP

1шт.

46

231-5145

SERRATED NUT,Flg, USR, 5/16"-18

1шт.

47

495-21038

WASHER,5/16"

1шт.

Выбрано товаров: 50