Запчасти Case IH 2555 (09F-06) - SHIELDS, FUEL TANK (12) - CHASSIS

Схема запчастей Case IH 2555 - (09F-06) - SHIELDS, FUEL TANK (12) - CHASSIS
10
7a
6
5
3
4
9
5
8
5
2
7
5
1
6
11
FIT
1:1
100%

Артикул

Название

Примечание

Количество

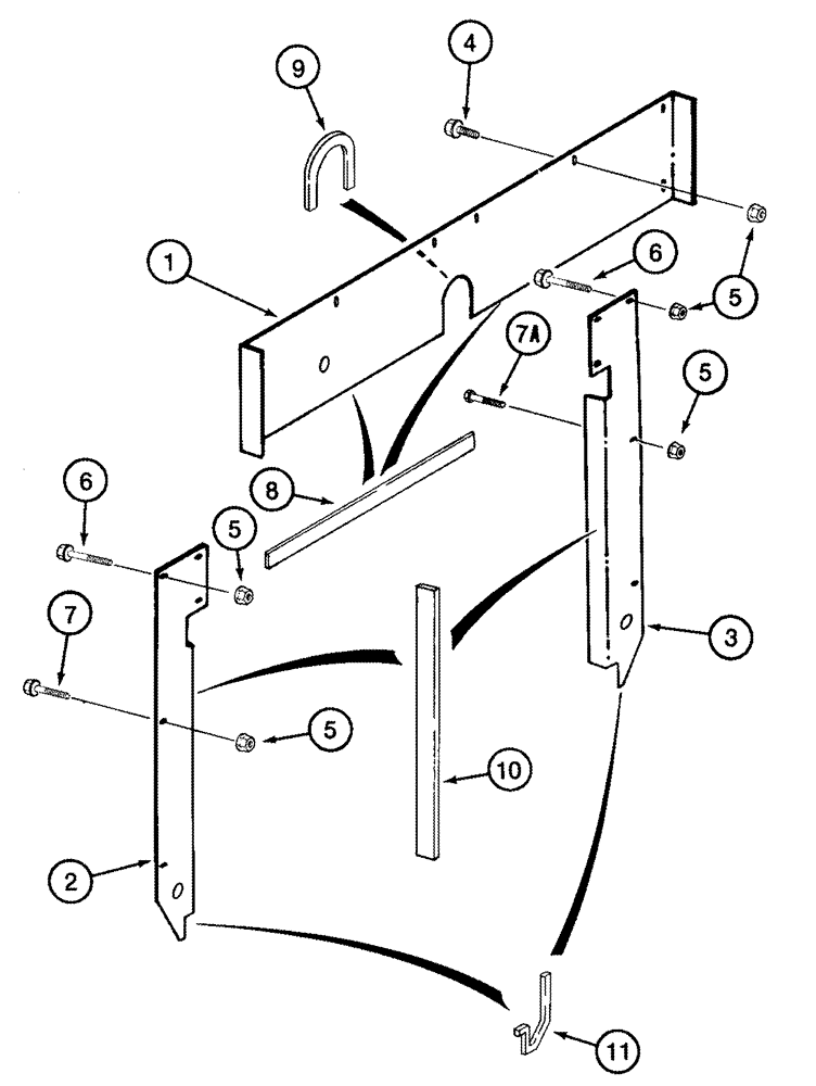
1

1984051C1

COVER

Upper

1шт.

2

1984052C2

COVER

Left Hand Side

1шт.

3

1984053C2

COVER

Right Hand Side

1шт.

4

256873

BOLT,Hex Serr, 5/16" - 18 x 1/2", 5SPL, Full Thd

8шт.

5

231-5145

SERRATED NUT,Flg, USR, 5/16"-18

14шт.

6

409-7524

BOLT,Hex Flg, 5/16" - 18 x 1 1/2", Spcl

2шт.

7

409-7516

BOLT,Hex Flg, 5/16" - 18 x 1", Spcl

2шт.

7a

413-516

BOLT,Hex, 5/16" - 18 x 1", Gr 5

2шт.

8

87110C1

SEAL

Upper Cover, Cut From 1263038C1

2шт.

9

87111C2

SEAL

Upper Cover, Cut From 1263038C1

1шт.

10

1990499C1

SEAL

Side Cover, Cut From 73215C2

2шт.

11

1330169C1

SEAL

Side Cover, Cut From 195917C1

2шт.

Выбрано товаров: 12