Запчасти Case IH 2555 (09C-02) - DRUM OUTLETS REAR (15) - HANDLING SYSTEM

Схема запчастей Case IH 2555 - (09C-02) - DRUM OUTLETS REAR (15) - HANDLING SYSTEM
11
32
13
18
8
3
15
12
20
1
30
32
29
26
27
33
17
25
14
3
34
28
19
16
31
8
8
2
FIT
1:1
100%

Артикул

Название

Примечание

Количество

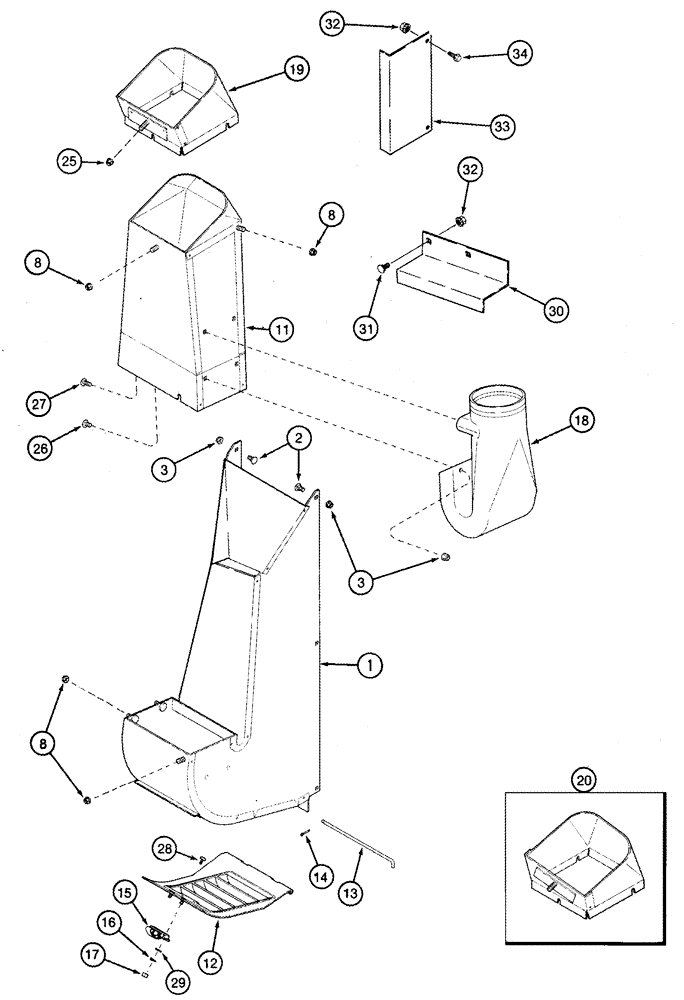
1

182305A1

HOUSING

Rear Drum Outlet, -JJC0157149, 4 Row Narrow, No. 1 and 4, 4 Row Wide, No. 1, 2 and 4, 5 Row Narrow and Wide, No. 2, 5 Row Narrow and Wide, No. 1 and 5

1шт.

1

1984076C4

HOUSING

Rear Drum Outlet, -JJC0157149, 4 Row Narrow, No. 2, 4 Row Wide, No. 3, -JJC0157149 & JJC0157150-, 5 Row Narrow and Wide, No. 3, Not Illustrated

1шт.

2

434-58

CARRIAGE BOLT,Sht Sq Nk, 5/16" - 18 x 1/2", Gr 5

5шт.

3

231-5145

SERRATED NUT,Flg, USR, 5/16"-18

5шт.

8

231-5145

SERRATED NUT,Flg, USR, 5/16"-18

6шт.

11

1349969C2

HOUSING

Outlet, Rear Drum, 4 Row Narrow, No. 1, 5 Row Narrow and Wide, No. 2

1шт.

11

1988640C1

HOUSING

Rear Drum Outlet, 4 Row Wide, No. 2

1шт.

11

118747A2

HOUSING

Outlet, Rear Drum, 4 Row Wide, No. 1 and 4, 5 Row Narrow and Wide, No. 1 and 5

1шт.

11

1988655C2

HOUSING

Rear Drum Outlet, 4 Row Wide, No. 3

1шт.

11

1984095C2

HOUSING

Outlet, Rear Drum, 4 Row Narrow, No. 2, 5 Row Narrow and Wide, No. 3

1шт.

Note: Quantity listed is per drum.

1шт.

Nota: La cantidad listada corresponde a cada tambor.

1шт.

Nota: Quantidade contida num tambor.

1шт.

12

119753A1

TRAP DOOR

Access, Rear Outlet, 4 Louvers

1шт.

13

216151C3

PIN,4.11mm OD

Hinge

1шт.

14

432-612

COTTER PIN,3/32" x 3/4"

1шт.

15

1333780C1

LATCH

Hinge, Access Door

1шт.

16

492-11010

LOCK WASHER,#10

2шт.

17

225-14210

NUT,#10-32

2шт.

18

1349941C2

NOZZLE INJECTION

Drum Outlet, Rear, Short

1шт.

19

1990497C1

HOUSING

Straight, Drum Outlet, 4 Row Narrow, No. 1 and 4, 4 Row Wide, No. 2 and 4, 5 Row Narrow and Wide, No. 2 and 5

1шт.

20

1545953C1

HOUSING

Angled, Drum Outlet, 4 Row Wide, No. 1, 5 Row Narrow and Wide, No.1

1шт.

25

231-4116

NUT,3/8"-16, GB

3/8

1шт.

26

477-73112

SERRATED SCREW,Sl Truss Hd, 5/16" - 18 x 3/4"

2шт.

27

256873

BOLT,Hex Serr, 5/16" - 18 x 1/2", 5SPL, Full Thd

2шт.

28

490-1108

SCREW,Cross Pan Hd, #10-32 x 1/2"

2шт.

29

495-31022

WASHER,#10

4шт.

30

119057A1

SUPPORT

Extension Support, 4 Row, No. 3

1шт.

31

434-58

CARRIAGE BOLT,Sht Sq Nk, 5/16" - 18 x 1/2", Gr 5

2шт.

32

231-5145

SERRATED NUT,Flg, USR, 5/16"-18

4шт.

33

119058A1

SUPPORT

Extension Support, 5 Row Narrow and Wide, No. 4

1шт.

34

409-7512

BOLT,Hex Flg, 5/16" - 18 x 3/4", Spcl

2шт.

Note: Quantity listed is per drum.

1шт.

Nota: La cantidad listada corresponde a cada tambor.

1шт.

Nota: Quantidade contida num tambor.

1шт.

Выбрано товаров: 35