Запчасти Case IH 2555 (09D-16) - BASKET DOOR (16) - BASKET

Схема запчастей Case IH 2555 - (09D-16) - BASKET DOOR (16) - BASKET
9
7
9
10
7
8
4
6
10
8
1
6
10
1
3
2
5
13
4
8
4
7
1
9
5
9
7
5
6
14
4
5
6
15
8
FIT
1:1
100%

Артикул

Название

Примечание

Количество

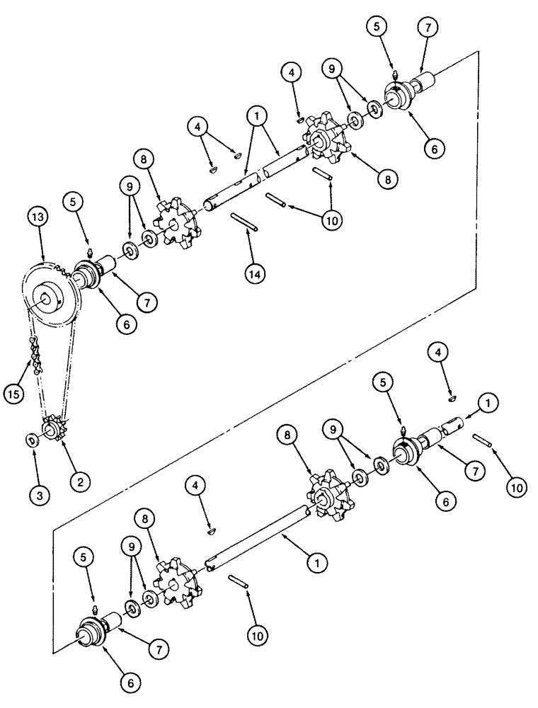
Conveyor Drive

1шт.

1

1260366C2

SHAFT

1шт.

2

1260364C1

SPROCKET ASSY.

1шт.

3

495-81070

WASHER,1 1/32" x 1 1/2" x .120"

1-1/32 x 1-1/2 x 7/64

1шт.

4

117997

WOODRUFF KEY,#25, 5/16" x 1 1/2", HT

5шт.

5

219-87

LUBE NIPPLE,1/4" - 28 NPTF

4шт.

6

1278954C91

BEARING ASSY

Drive Shaft, Includes 7

4шт.

7

1278956C1

BUSHING,34.95mm ID x 39.7mm OD x 63.75mm L

1шт.

8

1269910C1

DRIVE SPROCKET

4шт.

9

495-81213

WASHER,35.71mm ID x 50.8mm OD x 1.7mm Thk

8шт.

10

38-12036

LOCK PIN,5/16" x 2 1/4", Slotted

5/16" x 2 1/4", Slotted

4шт.

13

1260365C4

SPROCKET ASSY.

1шт.

14

138-2029

PIN,7.92mm OD x 63.5mm L, Coiled

1шт.

141492A1

CHAIN (CE)

Conveyor Drive, Consists Of 15, 16

1шт.

15

NSS

NOT SOLD SEPARAT

No. 60HG, Chain, Single Link

71шт.

16

141493A1

LINK

Single Pitch, Not Illustrated

1шт.

Выбрано товаров: 16