Запчасти Case IH 2555 (02-20) - CYLINDER BLOCK (01) - ENGINE

Схема запчастей Case IH 2555 - (02-20) - CYLINDER BLOCK (01) - ENGINE
17
24
27
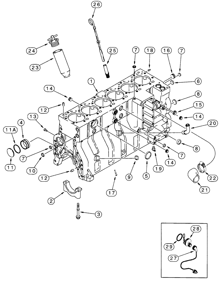
1
23
7
7
4
26
29
18
8
6
11a
19
20
10
14
21
8
9
3
14
15
5
14
28
11
25
13
16
12
12
7
7
22
2
FIT
1:1
100%

Артикул

Название

Примечание

Количество

*

6TA-830 Emissions Certified Engine

1шт.

*

Continued From Previous Page

1шт.

*

198833A1R

REMAN-BASIC ENGINE

Remanufactured Basic Engine Assembly, assembly includes short block assembly, cylinder head, valve cover, front cover, oil pan, water pump, thermostat and gasket kit to transfer trim parts

1шт.

*

198833A1C

CORE-BASIC ENGINE

Return Number

1шт.

*

JR934600

ENGINE, EXCHANGE

Remanufactured Short Engine

1шт.

*

JC934600

CORE-ENGINE

Return Number

1шт.

2

J917313

BEARING CAP

7шт.

3

J916369

FLANGE BOLT,Hex, M14 x 2 x 128mm, Cl 10.9

14шт.

4

J901685

BUSHING

See Page(s) 2-41

7шт.

5

A77782

PLUG

1шт.

6

A77586

PLUG

28.9mm

1шт.

7

A77506

PLUG

21 mm

4шт.

8

J905401

PLUG

4шт.

9

J920706

PLUG

Not Used

1шт.

10

J920443

PLUG

Not Used, Replaces A77530

2шт.

11

41-3044

PLUG,Exp, 2 3/4"

1шт.

11a

J926048

O-RING,0.07" Thk x 2.614" ID, -38, Cl 5, 75 Duro

1шт.

12

J901846

PIN,12.01mm OD x 24mm L

4шт.

13

J906619

PLUG,1/8" - 27

6шт.

14

A77429

PLUG

4шт.

15

A77505

PLUG

1шт.

16

A77533

PLUG

1шт.

17

J928031

NOZZLE,8.5mm OD x 30mm L

12шт.

18

J900257

PIN,10.01mm OD x 16mm L

16 mm

2шт.

19

217-103

COCK, DRAIN

1шт.

20

J903744

PIPE FITTING,22.42 mm ID x 28 mm OD x 90.2, 64 mm L

Not Used

1шт.

21

J920762

ELBOW

1шт.

22

J918521

HOSE CLAMP,59mm - 83mm

1шт.

23

J921068

TUBE,35.13 - 52.39 mm OD x 180 mm L

1шт.

*

6TA-830 Emissions Certified Engine

1шт.

24

A77424

FILLER CAP

1шт.

25

J905779

TUBE,9.52 mm OD x 228 mm L

1шт.

26

J908094

DIPSTICK

Engine Block Heater

1шт.

*

196804A1

KIT

Engine Block Heater, Inc. 27 - 29

1шт.

27

196466A1

ELECTRIC CABLE

Replaces J905113

1шт.

28

NSS

NOT SOLD SEPARAT

Element

1шт.

29

J910517

O-RING

1шт.

30

L18337

CABLE TIE,9.95"-12.1" lg

CABLE STRAP 15 in, Not Illustrated

1шт.

*

Repair Kit

1шт.

*

A77885

PACKAGE, REPAIR

Engine Block, Not Illustrated, Inc. 31 - 38

1шт.

31

A77854

PACKAGE, REPAIR

Piston and Sleeve, See Page(s) 2-53, Serial Range: -45636465

6шт.

31

A77912

PACKAGE, REPAIR

Piston, See Page(s) 2-23 45636466 to

6шт.

32

A77563

BEARING SET

See Page(s) 2-23

6шт.

33

J901597

PIN

See Page(s) 2-23

6шт.

34

A77711

BEARING LINER

See Page(s) 2-47

6шт.

35

A77843

BEARING LINER

See Page(s) 2-47

1шт.

36

A77872

GASKET KIT

Valve Grind, See Page(s) 2-55, 2-55B

1шт.

37

J931019

GASKET

See Page(s) 2-33

1шт.

38

A77679

GASKET KIT

See Page(s) 2-31

1шт.

Выбрано товаров: 49