Запчасти Case IH 2555 (03-01) - FUEL TANK AND LINES (02) - FUEL SYSTEM

Схема запчастей Case IH 2555 - (03-01) - FUEL TANK AND LINES (02) - FUEL SYSTEM
22
31
15
28
23
3
25
5
13
34
9
24
16
28
14
27
35
16
4
8
30
5
11
19
18
21
30
10
1
7
30
20
12
4
33
16
3
2
17
5
28
26
28
5
29
6
17
29
32
FIT
1:1
100%

Артикул

Название

Примечание

Количество

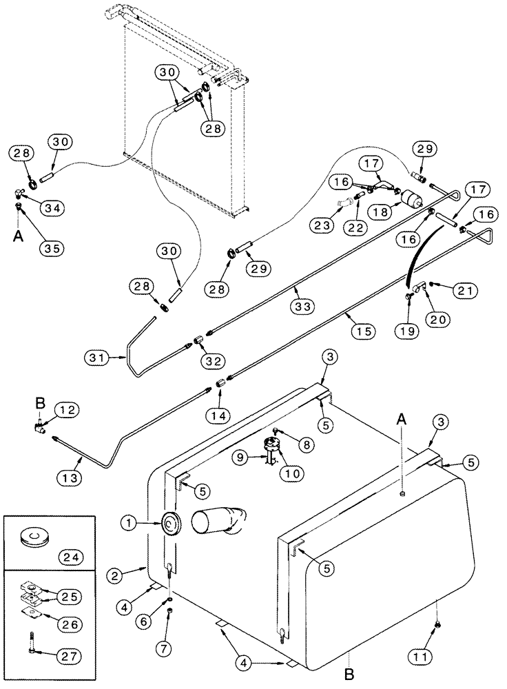
227115A1

FUEL TANK

Includes 1 - 2

1шт.

1

23995DC

FILLER CAP

1шт.

2

NSS

NOT SOLD SEPARAT

Tank

1шт.

3

227204A1

STRAP

2шт.

4

246550A1

FOAM

Cut From 73215C1

3шт.

5

666210R1

FIXING STRIP

Cut From 990541R1

4шт.

6

492-11038

LOCK WASHER,3/8"

4шт.

7

425-106

NUT,3/8"-16, Cl 5

6шт.

8

1310675C1

CAPTIVE WASHER SCREW,Sl Truss Hd, #10 - 24 x 0.75"

5шт.

9

121810C1

ELECTRICAL GAUGE

Fuel Level

1шт.

10

168515C1

GASKET,3.05mm Thk

1шт.

11

217-434

PLUG,Hex Soc, 3/8" - 18 NPTF

1шт.

12

390069R91

SHUT-OFF VALVE

1шт.

13

240665A1

PIPE

Fuel Supply, Rear

1шт.

14

222-1055

HYD CONNECTOR,3/8" Inv Fl

1шт.

15

240666A2

PIPE

Fuel Supply, Front

1шт.

16

1348264C1

HOSE CLAMP

4шт.

17

258266A1

FUEL HOSE,9.92 mm ID x 105.00 mm, SAE 30R7

Fuel Supply

2шт.

18

D139225

FILTER, FUEL

1шт.

19

409-7512

BOLT,Hex Flg, 5/16" - 18 x 3/4", Spcl

1шт.

20

370383R1

CLIP

1шт.

21

231-5145

SERRATED NUT,Flg, USR, 5/16"-18

1шт.

22

217-125

FITTING,3/8" Hose Barb x 1/4" Male NPTF

1шт.

23

217-16

ELBOW,45 Degree, 1/4"-18 NPTF, Fem x 1/4"-18 NPTF Male

1шт.

24

198823C1

GROMMET,9.53mm ID x 41.1mm OD x 26.9mm Thk

1шт.

25

1546024C1

CLAMP

3шт.

26

1347127C1

PLATE

3шт.

27

413-522

BOLT,Hex, 5/16" - 18 x 1-3/8", Gr 5

3шт.

28

214-1704

HOSE CLAMP,#04, 0.25" - 0.62", Type M Worm

5шт.

29

1988963C1

HOSE

Fuel Return

1шт.

30

193624A2

FUEL HOSE,9.53 mm ID x 770.00 mm, SAE 30R2

Fuel Return

2шт.

31

226521A1

FUEL TUBE

Fuel Return, Rear

1шт.

32

222-1055

HYD CONNECTOR,3/8" Inv Fl

1шт.

33

248693A1

FUEL TUBE,0.375" OD, 1560, 173 mm Length

Fuel Return, Front

1шт.

34

217-132

90 ELBOW,90 Degree Elbow, 3/8" Hose Barb x 1/4" Male NPTF

1шт.

35

217-42

REDUCER,3/8" - 18 NPT x 1/4" - 18 NPT

1шт.

Выбрано товаров: 36