Запчасти Case IH 2555 (06-10) - PUMP ASSY HYDROSTATIC (03) - POWER TRAIN

Схема запчастей Case IH 2555 - (06-10) - PUMP ASSY HYDROSTATIC (03) - POWER TRAIN
35
21
15
33
29
18
37
34
6
23
17
4
16
40
9
14
26
1
7
17
19
2
28
27
39
8
24
32
10
12
5
11
20
13
36
34
22
3
25
38
30
31
FIT
1:1
100%

Артикул

Название

Примечание

Количество

*

Control Valve

1шт.

*

1986824C5

PUMP, HYDROSTATIC

HYDROSTATIC PUMP , New, Includes Pages 6-19 - 6-31

1шт.

*

1986824C5R

REMAN-HYDROSTAT PUMP

2555 CASE IH COTTON EXPRESS COTTON PICKER (BEFORE S/N JJC0249499), HYDROSTATIC PUMP, New, PUMP ASSY

1шт.

*

1986824C5C

CORE-HYDROSTAT PUMP

Return Number

1шт.

*

191066A1

VALVE

Consists Of 1 - 40

1шт.

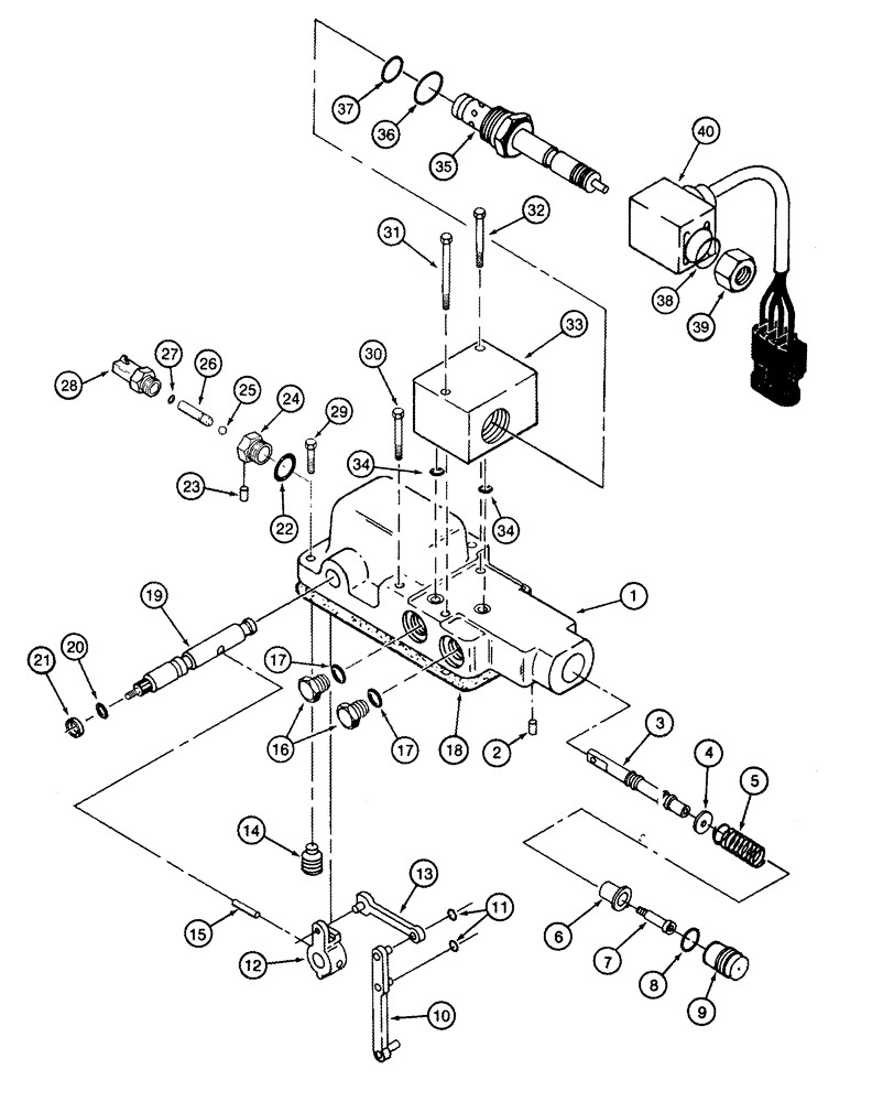
1

NSS

NOT SOLD SEPARAT

Housing

1шт.

2

83-1106

SET SCREW,Hex Soc, #10-24 x 3/8"

1шт.

3

NSS

NOT SOLD SEPARAT

Spool

1шт.

4

NSS

NOT SOLD SEPARAT

Spacer

1шт.

5

NSS

NOT SOLD SEPARAT

Spring

1шт.

6

NSS

NOT SOLD SEPARAT

Retainer

1шт.

7

NSS

NOT SOLD SEPARAT

Screw

1шт.

8

238-5016

O-RING,0.07" Thk x 0.614" ID, -16, Cl 5, 75 Duro

1шт.

9

NSS

NOT SOLD SEPARAT

Screw, Adjusting

1шт.

10

NSS

NOT SOLD SEPARAT

Link, Connecting

1шт.

11

100-1125

SNAP RING,#25, Ext

2шт.

12

NSS

NOT SOLD SEPARAT

Connector

1шт.

13

NSS

NOT SOLD SEPARAT

Link, Connecting

1шт.

14

NSS

NOT SOLD SEPARAT

Setscrew

1шт.

15

38-11614

LOCK PIN,1/4" x 7/8", Slotted

1/4" x 7/8". Slotted

1шт.

16

76349

PLUG,9/16" - 18 ORB

Incl. 17

2шт.

*

1978048C2

SHAFT

Consists Of 18 - 21

1шт.

18

133756C1

GASKET

1шт.

19

NSS

NOT SOLD SEPARAT

Shaft

1шт.

20

238-5012

O-RING,0.07" Thk x 0.364" ID, -12, Cl 5, 75 Duro

1шт.

21

NSS

NOT SOLD SEPARAT

Seal, Dust

1шт.

*

197909A2

ADAPTER,9/16" - 18 x 3/4"- 16

Special, Neutral Start Switch, Consists Of 22 - 27

1шт.

22

237-6008

O-RING,0.087" Thk x 0.644" ID, -908, Cl 6, 90 Duro

1шт.

23

84-1103

SET SCREW,Hex Soc, #10-32 x 3/16"

2шт.

24

NSS

NOT SOLD SEPARAT

Adapter

1шт.

25

211-1006

BALL,3/16" Dia

1шт.

26

NSS

NOT SOLD SEPARAT

Pin

1шт.

27

238-5004

O-RING,0.07" Thk x 0.07" ID, -4, Cl 5, 75 Duro

1шт.

28

197514A1

SENSOR

Neutral Start

1шт.

29

61-33116

HEX SOC SCREW,5/16"-18 x 1"

3шт.

30

61-33132

HEX SOC SCREW,5/16"-18 x 2"

2шт.

31

413-532

BOLT,Hex, 5/16" - 18 x 2", Gr 5

1шт.

32

61-33154

HEX SOC SCREW,5/16" - 18 x 3-3/8"

1шт.

*

106446A1

VALVE

Solenoid, Consists Of 33 - 40

1шт.

33

NSS

NOT SOLD SEPARAT

Block

1шт.

34

238-5012

O-RING,0.07" Thk x 0.364" ID, -12, Cl 5, 75 Duro

2шт.

*

235656A1

CARTRIDGE

Consists Of 35 - 39

1шт.

35

NSS

NOT SOLD SEPARAT

Body

1шт.

*

235657A1

REPAIR KIT

Seal, Consists Of 36, 37

1шт.

36

237-6010

O-RING,0.097" Thk x 0.755" ID, -910, Cl 6, 90 Duro

1шт.

37

NSS

NOT SOLD SEPARAT

Ring

1шт.

38

NSS

NOT SOLD SEPARAT

Washer

1шт.

39

NSS

NOT SOLD SEPARAT

Nut

1шт.

40

256213A1

COIL

Note: See page 6-17 for pump control linkage., Nota: Ver la página 6-17 para el enganche del control de la bomba., Nota: Veja a página 6-17 para as ligações de controle da bomba.

1шт.

17

237-6006

O-RING,0.078" Thk x 0.468" ID, -906, Cl 6, 90 Duro

1шт.

Выбрано товаров: 0