Запчасти Case IH 420 (02-02) - COOLANT RECOVERY SYSTEM (01) - ENGINE

Схема запчастей Case IH 420 - (02-02) - COOLANT RECOVERY SYSTEM (01) - ENGINE
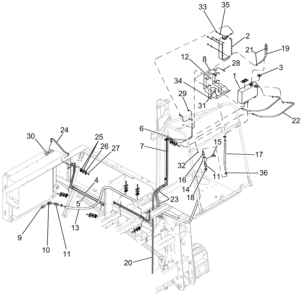
3
36
18
33
34
8
2
35
21
10
15
23
12
13
5
30
29
32
6
27
7
25
26
1
24
17
9
28
11
19
14
16
4
31
20
22
11
FIT
1:1
100%

Артикул

Название

Примечание

Количество

1

250600A1

TANK

Deaeration

1шт.

2

251245A1

RESERVOIR, COOLANT E

With Cap

1шт.

3

121951C1

CAP

Deaeration Tank

1шт.

4

87726974

HYD TUBE,7.92 mm OD x 1823 mm L

Radiator Vent

1шт.

5

87728282

TUBE,0.312" OD

Engine Vent

1шт.

6

87728283

TUBE,0.312" OD

Engine Vent

1шт.

7

87728284

TUBE,7.92 mm OD x 875 mm L

Radiator Vent

1шт.

8

87726973

Deaeration Tank

1шт.

9

221-1212

FITTING

1шт.

10

217-1124

ELBOW,45 Degree, 3/4"-14 Female

1шт.

11

217-375

FITTING,1" Hose Barb x 3/4" Male NPTF

2шт.

12

409-7412

BOLT,Hex Flg, 1/4" - 20 x 3/4", Spcl

4шт.

13

87736536

HOSE

1шт.

14

217-1164

TEE,3/4" - 14 NPT x 3/4" - 14 NPT x 3/4" - 14 NPT

1шт.

15

217-425

45 ELBOW,5/8" Hose Barb x 3/4" NPTF

1шт.

16

217-155

FITTING,3/4" Hose Barb x 3/4" Male NPTF

1шт.

17

87736537

HOSE

1шт.

18

214-1416

HOSE CLAMP,#16, 0.81" - 1.5", Type F Worm

2шт.

19

408608A1

HOSE

1шт.

20

87736538

HOSE,7.50 mm ID, 8.30 mm ID x 3422 mm, SAE J30 Type 30R6 Or SAE J20 Type 20R4

1шт.

21

214-1704

HOSE CLAMP,#04, 0.25" - 0.62", Type M Worm

13шт.

22

408601A1

HOSE

2шт.

23

1347455C1

LARGE HOSE,8.30 mm ID x 1175.00 mm, SAE J30

HOSE,LARGE

2шт.

24

87736541

HOSE,7.50 mm ID, 8.30 mm ID x 495 mm, SAE J30 Type 30R6 Or SAE J20 Type 20R4 Class D1

1шт.

25

1546024C1

CLAMP

8шт.

26

1347127C1

PLATE

Hose Clamp

8шт.

27

409-7524

BOLT,Hex Flg, 5/16" - 18 x 1 1/2", Spcl

8шт.

28

413-628

BOLT,Hex, 3/8" - 16 x 1-3/4", Gr 5

2шт.

29

231-5146

FLANGE NUT,3/8"-16

2шт.

30

87013363

DECAL

2шт.

31

413-432

BOLT,Hex, 1/4" - 20 x 2", Gr 5

1шт.

32

231-5144

SERRATED NUT,Flg, USR, 1/4"-20

1шт.

33

231-1445

NUT,5/16"-18, GB

4шт.

34

825-51412

FLANGE NUT,M12, Flg Ser

4шт.

35

495-11034

WASHER,5/16", SAE

4шт.

36

214-1412

HOSE CLAMP,#12, 0.69" - 1.25", Type F Worm

2шт.

Выбрано товаров: 36