Запчасти Case IH 420 (09F-12) - ACCESS STEP, HANDRAILS AND TREADS (12) - CHASSIS

Схема запчастей Case IH 420 - (09F-12) - ACCESS STEP, HANDRAILS AND TREADS (12) - CHASSIS
5
9
15
4
10
14
11
15
15
6
14
13
8
3
7
1
2
14
14
12
15
FIT
1:1
100%

Артикул

Название

Примечание

Количество

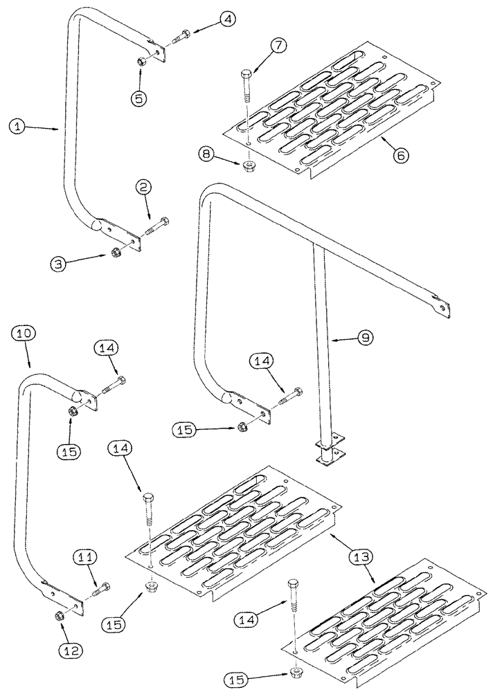
1

1546435C1

RAMP

Access

1шт.

Models with Single Wheels

1шт.

2

413-644

BOLT,Hex, 3/8" - 16 x 2-3/4", Gr 5

2шт.

3

231-5146

FLANGE NUT,3/8"-16

2шт.

4

413-632

BOLT,Hex, 3/8" - 16 x 2", Gr 5

1шт.

5

231-4116

NUT,3/8"-16, GB

1шт.

6

1546431C1

STEP

Access

1шт.

Models with Single Wheels

1шт.

7

413-844

BOLT,Hex, 1/2" - 13 x 2-3/4", Gr 5

4шт.

8

231-5148

FLANGE NUT,Flg, USR, 1/2"-13

4шт.

9

113042A1

HANDRAIL

Access

1шт.

Models With Dual Wheels

1шт.

10

140669A1

RAMP

Access, Front

1шт.

Models With Dual Wheels

1шт.

11

413-632

BOLT,Hex, 3/8" - 16 x 2", Gr 5

2шт.

12

231-4116

NUT,3/8"-16, GB

2шт.

13

1546431C1

STEP

Access

2шт.

Models With Dual Wheels

1шт.

14

413-844

BOLT,Hex, 1/2" - 13 x 2-3/4", Gr 5

12шт.

15

231-5148

FLANGE NUT,Flg, USR, 1/2"-13

12шт.

Выбрано товаров: 20