Запчасти Case IH 420 (02-11) - CYLINDER BLOCK (01) - ENGINE

Схема запчастей Case IH 420 - (02-11) - CYLINDER BLOCK (01) - ENGINE
6
11
3
2
19
21
12
20
9
7
8
7
16
7
14
23
4
7
24
11a
27
10
15
29
13
17
18
1
26
5
8
14
22
28
12
25
14
FIT
1:1
100%

Артикул

Название

Примечание

Количество

140257A5

ENGINE

Complete Engine, Less, Starter, Alternator, Fan, Fan Belt, Air Cleaner, Muffler and Exhaust Pipe, Order 198833A1

1шт.

198833A1

BASIC ENGINE

Less: Starter, Alternator, Fan, Fan Belt, Air Cleaner, Muffler, Exhaust Manifold, Flywheel and Housing, Oil Fill and Dipstick, Fuel Injection Pump, Injectors and Lines, Front Pulley, Belt Tensioner, Turbocharger and Aftercooler; See Note

1шт.

198833A1R

REMAN-BASIC ENGINE

Reman for New PN 198833A1

1шт.

198833A1C

CORE-BASIC ENGINE

Return Part Number

1шт.

6-830-LBC

CORE-BASIC ENGINE

1шт.

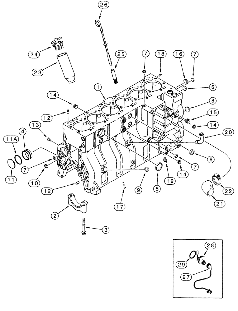
1

87448700

SHORT ENGINE

Inc. Stripped Block (REF 1A), Pistons, Connecting Rods and Bearings, Crankshaft and Bearings, Inc. 2 - 20

1шт.

1

87448701

REMAN-SHORT ENGINE

Remanufactured Short Engine

1шт.

1

6-830-SHBC

CORE

Return Part Number, Short Block

1шт.

1

87448701

REMAN-SHORT ENGINE

Remanufactured Short Engine

1шт.

1

6830SHBC

CORE-SHORT ENGINE

Return Number, Short Block

1шт.

1a

87448718

CYLINDER BLOCK

Stripped

1шт.

2

87444056

BEARING CAP,159 mm OD x 34 mm

7шт.

3

87444059

BOLT

M14 x 128

14шт.

4

J945329

CAMSHAFT BEARING,60.08mm ID x 64.13mm OD x 25mm L

See Figure 02-18

7шт.

5

A77782

PLUG

58 mm

1шт.

6

A77586

PLUG

28.9 mm

1шт.

7

A77506

PLUG

21 mm

4шт.

8

J905401

PLUG

35 mm

4шт.

9

J920706

PLUG

22 mm, Not Used

1шт.

10

J920443

PLUG

30 mm, Not Used

2шт.

11

41-3044

PLUG,Exp, 2 3/4"

(70 mm)

1шт.

11a

J926048

O-RING,0.07" Thk x 2.614" ID, -38, Cl 5, 75 Duro

66 mm ID

1шт.

12

J901846

PIN,12.01mm OD x 24mm L

4шт.

13

J906619

PLUG,1/8" - 27

1/8 PT

6шт.

14

444704

PLUG,Hex Soc, 1/2"-14

4шт.

15

263136

MAGNETIC PLUG,Sq. Soc, 3/4"-14 NPTF

PLUG, MAGNETIC

1шт.

16

86625135

PLUG,1" - 11-1/2 NPT

1шт.

17

J928031

NOZZLE,8.5mm OD x 30mm L

12шт.

18

J900257

PIN,10.01mm OD x 16mm L

16 mm

2шт.

19

217-103

COCK, DRAIN

1/4 PT

1шт.

20

J903744

PIPE FITTING,22.42 mm ID x 28 mm OD x 90.2, 64 mm L

Not Used

1шт.

21

J920762

ELBOW

79 mm (3-1/8")

1шт.

22

J918521

HOSE CLAMP,59mm - 83mm

1-13/16 - 2-3/4

1шт.

23

J921068

TUBE,35.13 - 52.39 mm OD x 180 mm L

1шт.

24

A77424

FILLER CAP

1шт.

25

J905779

TUBE,9.52 mm OD x 228 mm L

1шт.

26

J908094

DIPSTICK

1шт.

196804A1

KIT

Engine Block Heater, 120V, Inc. 27 - 29

1шт.

27

196466A1

ELECTRIC CABLE

1829 mm (72")

1шт.

28

NSS

NOT SOLD SEPARAT

ELEMENT

1шт.

29

J910517

O-RING

1шт.

A77665

SET OF PARTS

Engine Block Heater, 240V, Inc. 27 - 29

1шт.

27

J913112

WIRE HARNESS

1829 mm (72")

1шт.

28

NSS

NOT SOLD SEPARAT

ELEMENT

1шт.

29

J910517

O-RING

1шт.

30

L18337

CABLE TIE,9.95"-12.1" lg

CABLE STRAP 15" (Not Shown)

1шт.

Выбрано товаров: 46