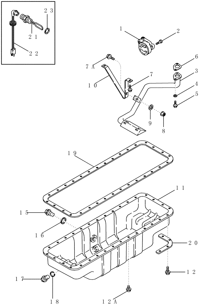
Запчасти Case IH 420 (02-12) - OIL PUMP, PAN - HEATER (01) - ENGINE

Схема запчастей Case IH 420 - (02-12) - OIL PUMP, PAN - HEATER (01) - ENGINE
22
9
15
12
2
5
12a
18
16
1
17
3
20
23
11
19
10
21
7a
6
4
7
8
FIT
1:1
100%

Артикул

Название

Примечание

Количество

1

J948071

PUMP,24.17 CC

1шт.

JR948071

REMAN-ENG OIL PUMP

REMAN-ENGINE OIL PUMP Remanufactred Oil Pump; For N.A. Only

1шт.

JC948071

CORE-ENGINE OIL PUMP

CORE-ENGINE OIL PUMP Return number - For N.A. only

1шт.

2

J900677

BOLT,Hex

M8 x 30

4шт.

3

J921719

TUBE

1шт.

4

J926865

SPACER,6.9mm ID x 12.7mm OD x 14mm L

2шт.

5

845-6030

BOLT,Hvy Hex, M6 x 30mm, Cl 8.8

2шт.

6

87447959

GASKET,1.2mm Thk

1шт.

7

845-6015

BOLT,Hvy Hex, M6 x 15mm, Cl 8.8

2шт.

7a

845-6020

BOLT,Hvy Hex, M6 x 20mm, Cl 8.8

1шт.

8

9804276

FLANGE NUT,Hex, M6 x 1, Cl 8

1шт.

9

J910960

WASHER

1шт.

10

J927611

BRACKET

1шт.

11

J914015

ENGINE OIL PAN

1шт.

12

J920400

FLANGE BOLT,Hex, M8 x 1.25 x 21mm, Gr 8.8

M8 x 25

16шт.

12a

J907860

FLANGE BOLT,Hex, M8 x 25mm, Spcl

M8 x 21

16шт.

15

J924148

PLUG,M22 x 1.5

M22

1шт.

16

J902425

SEALING WASHER,22.2mm ID x 26.9mm OD x 1.75mm Thk

1шт.

17

J924147

PLUG,M18 x 1.5

M18

1шт.

18

J920773

SEALING WASHER

1шт.

19

87308050

GASKET,0.95mm Thk

Oil Pan

1шт.

20

87414461

SUPPORT

Plate, Clamping

4шт.

A77580

SERVICE KIT

Oil Pan Heater, 120V, Inc. 21 - 23

1шт.

21

NSS

NOT SOLD SEPARAT

ELEMENT

1шт.

22

196466A1

ELECTRIC CABLE

1829 mm (72")

1шт.

23

J902425

SEALING WASHER,22.2mm ID x 26.9mm OD x 1.75mm Thk

1шт.

A77666

SERVICE KIT

Oil Pan Heater, 240V, Inc. 21 - 23

1шт.

21

NSS

NOT SOLD SEPARAT

ELEMENT

1шт.

22

J905114

ELECTRIC CABLE

1829 mm (72")

1шт.

23

J902425

SEALING WASHER,22.2mm ID x 26.9mm OD x 1.75mm Thk

1шт.

Выбрано товаров: 30