Запчасти Case IH 420 (09C-15) - CONVEYOR CHUTES - CENTER - 4 ROW WIDE (15) - HANDLING SYSTEM

Схема запчастей Case IH 420 - (09C-15) - CONVEYOR CHUTES - CENTER - 4 ROW WIDE (15) - HANDLING SYSTEM
6
4
16
9
8
25
10
5
5
26
23
6
5
5
12
11
9
7
21
1
26
7
22
3
28
13
11
16
13
10
24
19
12
20
10
FIT
1:1
100%

Артикул

Название

Примечание

Количество

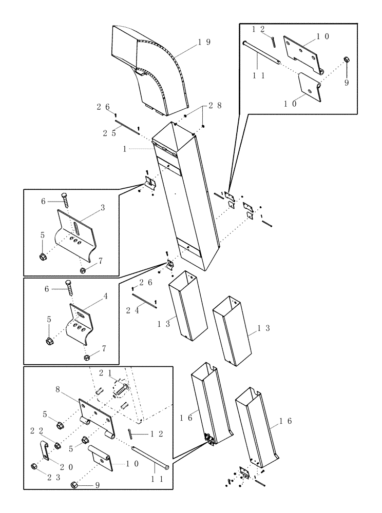
1

87430730

CHUTE

Double, Upper

1шт.

3

127588A1

CLAMP

Upper

1шт.

4

127589A1

CLAMP

Lower

1шт.

5

231-5146

FLANGE NUT,3/8"-16

6шт.

6

413-432

BOLT,Hex, 1/4" - 20 x 2", Gr 5

10шт.

7

230-4114

NUT,1/4"-20, GA

10шт.

8

1349843C1

HINGE

Female

4шт.

9

231-4116

NUT,3/8"-16, GB

4шт.

10

1270014C1

HINGE

Male

4шт.

11

1349860C1

PIN,7.94mm OD x 129mm L

4шт.

12

432-816

COTTER PIN,1/8" x 1"

4шт.

13

1349938C1

CHUTE

Female

2шт.

16

1349934C3

CHUTE

2шт.

17

425-106

NUT,3/8"-16, Cl 5

(Not Shown)

1шт.

18

492-11038

LOCK WASHER,3/8"

(Not Shown)

1шт.

19

199936A3

CHUTE

Double Center

1шт.

20

1984343C1

HOOK

Air Pipe

2шт.

21

477-73120

SERRATED SCREW,Truss HD, 5/16" - 18 x 1-1/4"

2шт.

22

231-5145

SERRATED NUT,Flg, USR, 5/16"-18

2шт.

23

231-4115

NUT,5/16"-18, GB

2шт.

24

233320A2

PIN,7.94mm OD x 194.5mm L

Used W/Single Conveyor Chute and Hood

1шт.

25

233321A2

PIN,7.94mm OD x 366.5mm L

Used W/Double Conveyor Chute and Hood

1шт.

26

136-159

HAIR PIN COTTER,Int, 3/16 x .080"

2 used per Hinge Pin

1шт.

27

195-81027

WASHER,0.38" ID x 1.12" OD x 0.07" Thk

2 Used Per Hood (Not Shown)

1шт.

28

360662A1

NUT

5/16, 2 Used Per Hood

2шт.

Выбрано товаров: 25