Запчасти Case IH 420 (04-13) - HARNESS, VALVE BLOCK (06) - ELECTRICAL SYSTEMS

Схема запчастей Case IH 420 - (04-13) - HARNESS, VALVE BLOCK (06) - ELECTRICAL SYSTEMS
5
2
1
2
4
3
FIT
1:1
100%

Артикул

Название

Примечание

Количество

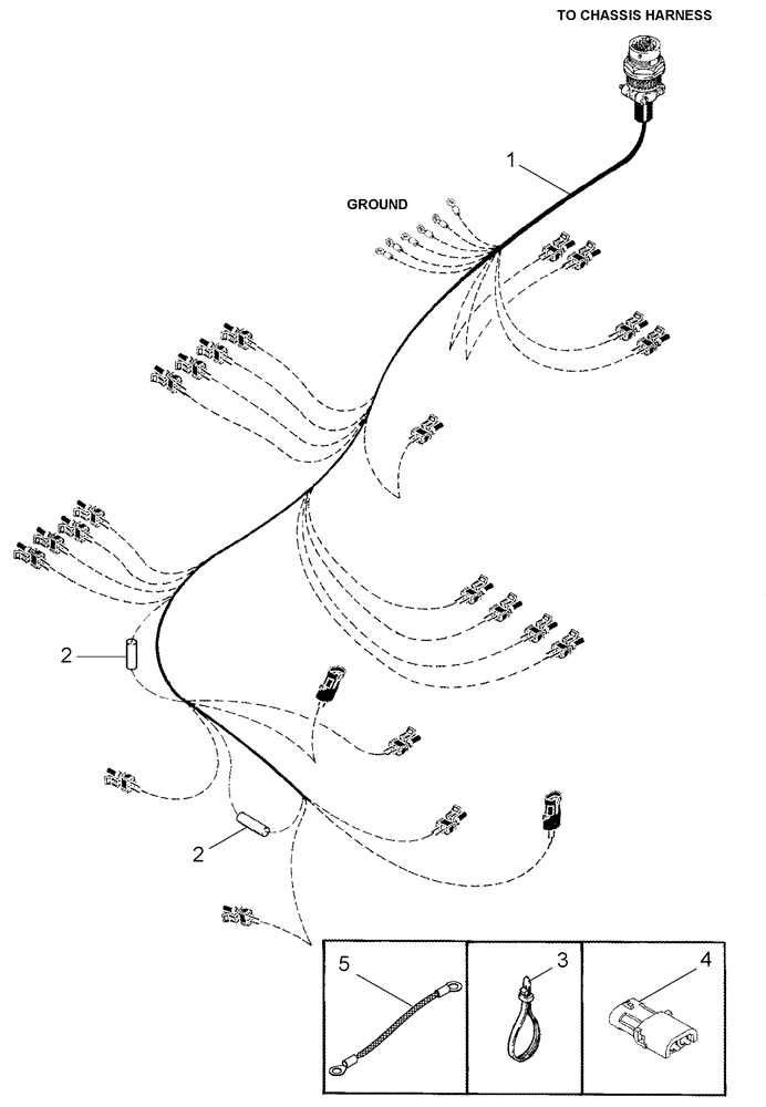
1

107236A2

HARNESS

Inc. 2, 3

1шт.

2

113699A1

RECTIFIER

2-5/8

2шт.

3

22-824

CABLE TIE,3/16" x 7 1/4"

CABLE STRAP

1шт.

4

294788A1

CONNECTOR, ELEC

CONNECTOR Used With Tiltback Removed

2шт.

5

91963C1

GROUND STRAP

Valve Block

1шт.

Выбрано товаров: 5