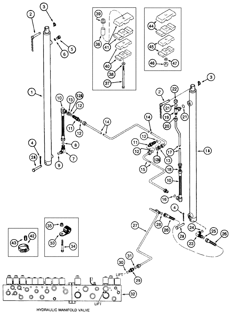
Запчасти Case IH 420 TIER 3 (08-27) - BASKET LIFT CYLINDER SYSTEM (07) - HYDRAULICS

Схема запчастей Case IH 420 TIER 3 - (08-27) - BASKET LIFT CYLINDER SYSTEM (07) - HYDRAULICS
15
46
45
33
2a
3
47
23
26
10
42
4
19
44
20
27
37
30
14
1a
18
29
35
31
32
40
2
5
13
6
43
25
10
4
12
12a
7
12
21
41
38
8
24
11
11
3
13
28
1
34
12a
17
39
12
14
12
16
21
9
36
2a
22
26
2
FIT
1:1
100%

Артикул

Название

Примечание

Количество

1

87272661

CYLINDER,Double Acting, 63.5mm Rod, 1828.8mm Stroke

Basket Lift Slave

1шт.

See Figure 08-28

1шт.

1a

87272660

CYLINDER,Double Acting, 63.4mm Rod, 1828.8mm Stroke

Basket Lift Master

1шт.

See Figure 08-29

1шт.

2

247880A1

LARGE PIN

PIN, LARGE With Chain, Upper Mounting

2шт.

2a

1288771C1

HEADED PIN

Cylinder, Lower Mounting

2шт.

3

A30338

PIN

2шт.

4

432-1620

COTTER PIN,1/4" x 1 1/4"

2шт.

5

214389

PLUG,3/4" - 16 ORB

Inc. Ref. 6

1шт.

6

237-6008

O-RING,0.087" Thk x 0.644" ID, -908, Cl 6, 90 Duro

1шт.

7

201-343

ELBOW,90 Degree Elbow, 1" - 14 Male ORFS x 3/4" - 16 Male ORB

Inc. 8, 9

1шт.

8

237-6008

O-RING,0.087" Thk x 0.644" ID, -908, Cl 6, 90 Duro

1шт.

9

238-6016

O-RING,0.07" Thk x 0.614" ID, -16, Cl 6, 90 Duro

1шт.

10

1988957C1

HOSE

295 mm (11-5/8"), Basket Lift Slave

2шт.

11

201-123

HYD CONNECTOR,1"-14, Blkhd, ORFS

Inc. 12

2шт.

12

238-6016

O-RING,0.07" Thk x 0.614" ID, -16, Cl 6, 90 Duro

2шт.

12a

495-11106

WASHER,1", SAE

2шт.

13

201-919

BHD LOCK NUT,1" - 14

2шт.

14

87699689

HYD TUBE,0.625" OD

Basket Lift, Rear

1шт.

15

1988925C2

HYD TUBE,0.625" OD

Basket Lift, Middle

1шт.

15

47389735

HYD TUBE

Basket Lift, Middle, Start Year: 04-JAN-12

1шт.

16

238-6016

O-RING,0.07" Thk x 0.614" ID, -16, Cl 6, 90 Duro

1шт.

17

1988926C2

PIPE

Basket Lift, Master Cylinder

1шт.

18

238-6016

O-RING,0.07" Thk x 0.614" ID, -16, Cl 6, 90 Duro

1шт.

19

201-424

TEE,1 3/16"-12 x 1 1/16"-12 Run, ORFS

Inc. 20, 21

1шт.

20

237-6012

O-RING,0.116" Thk x 0.924" ID, -912, Cl 6, 90 Duro

1шт.

21

238-6018

O-RING,0.07" Thk x 0.739" ID, -18, Cl 6, 90 Duro

2шт.

22

201-907

CAP,1-3/16" - 12 ORFS

1шт.

23

201-307

ELBOW,90 Degree Elbow, 1-3/16" - 12 Male ORFS x 1-1/16" - 12 Male ORB

Inc. 24, 25

1шт.

24

238-6018

O-RING,0.07" Thk x 0.739" ID, -18, Cl 6, 90 Duro

1шт.

25

237-6012

O-RING,0.116" Thk x 0.924" ID, -912, Cl 6, 90 Duro

1шт.

26

1988956C1

HOSE,15.88mm ID x 825mm L

825 mm (32-1/2"), Basket Lift, Supply

1шт.

27

1988927C2

TUBE

Basket Lift, Front

1шт.

28

238-6018

O-RING,0.07" Thk x 0.739" ID, -18, Cl 6, 90 Duro

1шт.

29

201-104

HYD CONNECTOR,1-3/16" - 12 Male ORFS x 1-1/16" - 12 Male ORB

Inc. Ref. 30, 31

1шт.

30

237-6012

O-RING,0.116" Thk x 0.924" ID, -912, Cl 6, 90 Duro

1шт.

31

238-6018

O-RING,0.07" Thk x 0.739" ID, -18, Cl 6, 90 Duro

1шт.

32

REF

INSTRUCTION

Valve, Manifold, Hydraulic

1шт.

See Figure(s) 08-17 - 08-20

1шт.

33

515-23190

CLAMP,3/4", Insul, 3/8" Bolt

1шт.

34

413-512

BOLT,Hex, 5/16" - 18 x 3/4", Gr 5

1шт.

35

231-5145

SERRATED NUT,Flg, USR, 5/16"-18

1шт.

36

11531N

SPACER,3/8" Pipe x 2"

1шт.

37

413-580

BOLT,Hex, 5/16" - 18 x 5", Gr 5

1шт.

38

495-11041

WASHER,0.406" ID x 0.812" OD x 0.065" W

1шт.

39

231-5145

SERRATED NUT,Flg, USR, 5/16"-18

1шт.

40

1546024C1

CLAMP

2 piece

2шт.

41

1546026C1

CLAMP

2шт.

42

214-1572

HOSE CLAMP,#72, 4.06" - 5", Type F Worm, W/ Liner

1шт.

43

163493C1

STRIP,19.05mm ID x 25.4mm OD x 45.7mm L

3/4 ID x 1-3/4

1шт.

44

1546027C1

CLAMP

1шт.

45

1546025C1

CLAMP

2 piece

1шт.

46

231-5145

SERRATED NUT,Flg, USR, 5/16"-18

1шт.

47

495-11041

WASHER,0.406" ID x 0.812" OD x 0.065" W

1шт.

Выбрано товаров: 54