Запчасти Case IH 420 TIER 3 (09A-34) - DRUM LIFT ARMS - 4 ROW WIDE (13) - PICKING SYSTEM

Схема запчастей Case IH 420 TIER 3 - (09A-34) - DRUM LIFT ARMS - 4 ROW WIDE (13) - PICKING SYSTEM
12
9
7
28
12
12
7
9
5
2
3
10
28
6
13
4
8
13
14
5
11
11
10
1
13
8
12
14
13
6
FIT
1:1
100%

Артикул

Название

Примечание

Количество

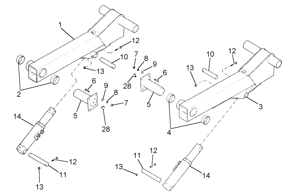
1

84160576

LOWER LINK

Left Hand, Inc. 2

1шт.

2

84160502

BUSHING,101.7mm ID x 108.39mm OD x 52.32mm L

2шт.

3

84160565

ARM ASSY.

Right Hand, Inc. 4

1шт.

4

84160502

BUSHING,101.7mm ID x 108.39mm OD x 52.32mm L

2шт.

5

1983050C2

PIN

2шт.

6

426-828

BOLT,Hex, 1/2" - 13 x 1-3/4", Gr 8

8шт.

7

429-108

NUT,1/2"-13, G8

8шт.

8

80679

LOCK WASHER,1/20.507 CST ZND

8шт.

9

496-41053

WASHER,13.49mm ID x 31.75mm OD x 5.05mm Thk

8шт.

10

1983053C2

PIN

Lift Cylinder, Upper

2шт.

11

1983054C2

PIN,44.21mm OD x 301mm L

Lift Cylinder, Lower

2шт.

12

413-852

BOLT,Hex, 1/2" - 13 x 3-1/4", Gr 5

4шт.

13

231-4138

LOCK NUT,1/2"-13, GB

4шт.

14

87272665

HYDRAULIC CYLINDER,88.9mm Rod, 233.6mm Stroke

Drum Lift

2шт.

See Figure 08-24

1шт.

15

217-20

ELBOW,90 Degree, 1/8"-28 NPTF, Fem x 1/8"-27 NPTF Male

2шт.

Выбрано товаров: 16