Запчасти Case IH 420 TIER 3 (02-13) - OIL PUMP, PAN - OIL PAN HEATER KIT (01) - ENGINE

Схема запчастей Case IH 420 TIER 3 - (02-13) - OIL PUMP, PAN - OIL PAN HEATER KIT (01) - ENGINE
4
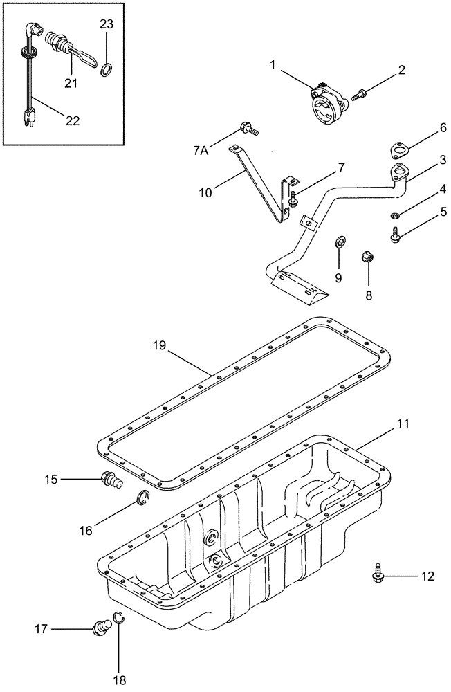
16
7a
8
21
12
1
17
19
3
2
15
5
9
18
7
6
10
11
22
23
FIT
1:1
100%

Артикул

Название

Примечание

Количество

1

J991123

ENGINE OIL PUMP

1шт.

JR991123

REMAN-ENG OIL PUMP

REMAN-ENGINE OIL PUMP Remanufactured Oil Pump, For N.A. only

1шт.

JC991123

CORE-ENGINE OIL PUMP

CORE-ENGINE OIL PUMP Return number - For N.A. only

1шт.

2

J900677

BOLT,Hex

M8 x 30

4шт.

3

J921719

TUBE

1шт.

4

J926865

SPACER,6.9mm ID x 12.7mm OD x 14mm L

2шт.

5

845-6015

BOLT,Hvy Hex, M6 x 15mm, Cl 8.8

2шт.

6

87447959

GASKET,1.2mm Thk

1шт.

7

845-6015

BOLT,Hvy Hex, M6 x 15mm, Cl 8.8

2шт.

7a

845-6020

BOLT,Hvy Hex, M6 x 20mm, Cl 8.8

1шт.

8

825-2406

FLANGE NUT,M6 x 1, Cl 8.8

1шт.

9

J910960

WASHER

1шт.

10

J927611

BRACKET

1шт.

11

87351053

ENGINE OIL PAN

1шт.

12

J907860

FLANGE BOLT,Hex, M8 x 25mm, Spcl

32шт.

15

J924148

PLUG,M22 x 1.5

M22

1шт.

16

J902425

SEALING WASHER,22.2mm ID x 26.9mm OD x 1.75mm Thk

1шт.

17

J924147

PLUG,M18 x 1.5

M18

1шт.

18

J920773

SEALING WASHER

1шт.

19

87308050

GASKET,0.95mm Thk

Pan

1шт.

A77580

SERVICE KIT

120V, Heater, Inc. 21, 22, Also Order J902425, REF 16

1шт.

21

J906388

HEATING ELEMENT

1шт.

22

196466A1

ELECTRIC CABLE

1829 mm (72 in)

1шт.

A77666

SERVICE KIT

240V Heater, Inc. 21, 22, Also Order J902425, REF 16

1шт.

21

J906389

HEATING ELEMENT

1шт.

22

J905114

ELECTRIC CABLE

1829 mm (72 in)

1шт.

Выбрано товаров: 26