Запчасти Case IH 420 TIER 3 (09D-03) - LID - BASKET - REAR WALL (16) - BASKET

Схема запчастей Case IH 420 TIER 3 - (09D-03) - LID - BASKET - REAR WALL (16) - BASKET
25
11
8
4
20
8
7
23
7
21
9
5
1
19
14
12
3
19
22
6
13
24
2
10
17
22
FIT
1:1
100%

Артикул

Название

Примечание

Количество

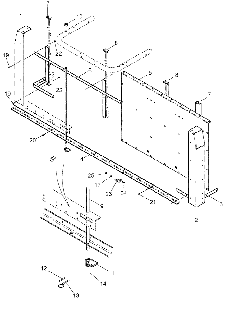
1

198850A2

COVER

Corner Post, Left Hand Rear

1шт.

2

198851A2

COVER

Corner Post, Right Hand Rear

1шт.

3

239327A1

BRACE

Basket Corner, Lower

2шт.

4

87453037

ANGLE

1шт.

5

86990569

SHEET

Rear Wall

2шт.

5

84494243

SHEET

Rear Wall, Start Year: 04-JAN-12

2шт.

6

220417A5

ANGLE

Center Tie

1шт.

7

244794A1

CHANNEL

Vertical Rear, Outer

2шт.

8

244795A1

CHANNEL

Vertical Rear, Inner

2шт.

9

220606A3

ROD

Basket Top Guide

2шт.

10

231-41110

LOCK NUT,5/8"-11, GB

2шт.

11

243203A1

PLATE

Basket Top Lock

2шт.

12

438-11616

LOCK PIN,1/4" x 1", Slotted

2шт.

13

A33497

LINCH PIN,4.76mm OD Pin

2шт.

17

495-81135

WASHER,10.31mm ID x 25.4mm OD x 3.4mm Thk

2шт.

19

477-73820

SERRATED SCREW,Truss HD, 3/8" - 16 x 1-1/4"

10шт.

20

477-73812

SERRATED SCREW,Truss HD, 3/8" - 16 x 3/4"

1шт.

21

477-73816

SERRATED SCREW,Sl Truss Hd, 3/8" x 1"

1шт.

22

231-5146

FLANGE NUT,3/8"-16

1шт.

495-81138

WASHER,10.31mm ID x 25.4mm OD x 4.93mm Thk

If Used

1шт.

23

87453035

CLAMP BRACKET

Basket Lock Keeper

2шт.

24

458-616

BOLT,Hex Flg, 3/8" - 16 x 1", Gr 5

2шт.

25

231-1446

NUT,3/8" - 16, Gr 5

2шт.

Выбрано товаров: 0