Запчасти Case IH 420 TIER 3 (09D-12) - BASKET, RIGHT HAND SIDE (16) - BASKET

Схема запчастей Case IH 420 TIER 3 - (09D-12) - BASKET, RIGHT HAND SIDE (16) - BASKET
14
10
13
5
10
12
21
9
8
20
11
9
3
2
4
4
2
12
11
9
15
9
2
1
11
7
6
19
FIT
1:1
100%

Артикул

Название

Примечание

Количество

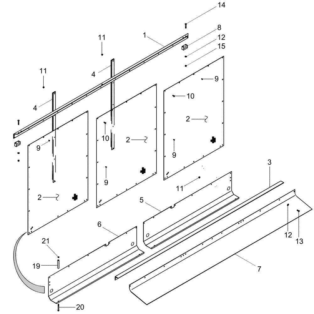
1

87434334

ANGLE

Right Hand Wall Upper

1шт.

2

87434335

SHEET

Right Hand Wall

3шт.

2

84494242

SHEET

Right Hand Wall, Start Year: 04-JAN-12

3шт.

3

87434336

SHEET

Right Hand Wall Lower

1шт.

4

284349A1

ANGLE

Vertical Upright

2шт.

5

87434337

SHIELD

Unloader Chain Rear

1шт.

6

87434338

SHIELD

Unloader Chain Front

1шт.

7

87434339

RUBBER

FLAP Rear Wall

1шт.

8

222680A2

GUIDE

Wearstrip

2шт.

9

375676A1

RIVET,Pop, 6.42mm OD x 24.64mm L

1/4

15шт.

10

477-73816

SERRATED SCREW,Sl Truss Hd, 3/8" x 1"

2шт.

11

231-5146

FLANGE NUT,3/8"-16

14шт.

12

495-21044

WASHER,3/8"

16шт.

13

477-73820

SERRATED SCREW,Truss HD, 3/8" - 16 x 1-1/4"

12шт.

14

413-648

BOLT,Hex, 3/8" - 16 x 3", Gr 5

4шт.

15

231-1446

NUT,3/8" - 16, Gr 5

4шт.

16

375676A1

RIVET,Pop, 6.42mm OD x 24.64mm L

1/4

6шт.

17

477-73820

SERRATED SCREW,Truss HD, 3/8" - 16 x 1-1/4"

3шт.

18

477-73812

SERRATED SCREW,Truss HD, 3/8" - 16 x 3/4"

4шт.

19

27634R1

SPACER,1/4" Pipe x 3"

4шт.

20

413-560

BOLT,Hex, 5/16" - 18 x 3-3/4", Gr 5

4шт.

21

425-285

FLANGE NUT,Flg, 5/16"-18, G5

4шт.

Выбрано товаров: 22