Запчасти Case IH 420 TIER 3 (03-08) - FUEL SEPARATOR FILTER KIT (02) - FUEL SYSTEM

Схема запчастей Case IH 420 TIER 3 - (03-08) - FUEL SEPARATOR FILTER KIT (02) - FUEL SYSTEM
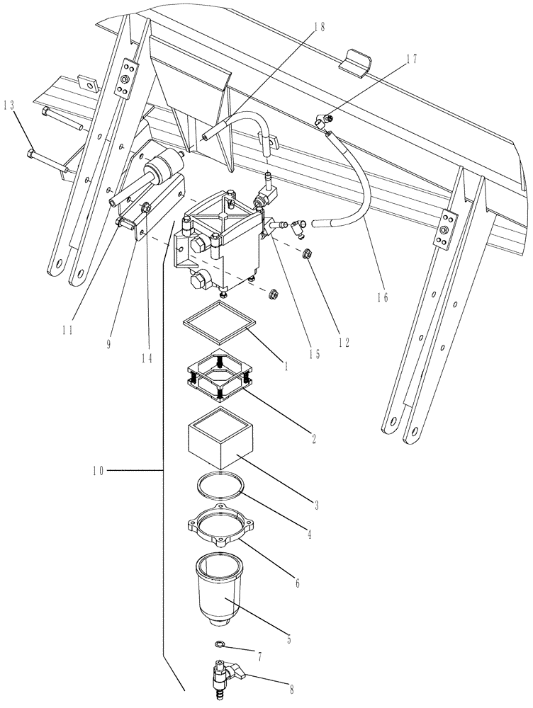
13
4
12
18
6
8
3
2
15
5
1
7
14
16
17
11
9
10
FIT
1:1
100%

Артикул

Название

Примечание

Количество

1

336432A1

GASKET

Top Lid Fuel Strainer

1шт.

2

336431A1

FRAME

Filter Spring

1шт.

3

336430A1

FUEL FILTER

30 Micron Fuel Strainer

1шт.

4

336433A1

SEAL,70mm ID x 78mm OD x 3mm Thk

Bowl Fuel Strainer

1шт.

5

369842A1

FILTER BOWL

Housing

1шт.

6

369841A1

RETAINER

Separator Filter

1шт.

7

369843A1

O-RING,2.5mm Thk x 10.5mm ID

Separator O-Ring

1шт.

8

369844A1

DRAINCOCK/TAP SUPPLY

1шт.

9

87751243

MOUNTING PARTS

Separator Filter

1шт.

10

336429A2

FUEL FILTER

Incl 1 - 8

1шт.

11

86512168

BOLT,Hex Serr Flg, 5/16" - 18 x 1"

2шт.

12

145458

SERRATED NUT,5/16"-18 GR 5 ZND

2шт.

13

280161

BOLT,Hex, 3/8" - 16 x 3", Gr 5

2шт.

14

247780

SERRATED NUT,Flg, USR, 3/8"-16

Fuel

2шт.

15

217-348

FITTING,90 Degree Elbow, 1/2" Hose Barb x 3/4" - 16 Male ORB

2шт.

16

87496743

HOSE ASSY.

1шт.

17

13021

HOSE CLAMP,12.7mm - 23.1mm, Worm Gear

2шт.

18

87496742

HOSE ASSY.

Fuel

1шт.

19

87496741

SERVICE KIT

Incl 1 - 18

1шт.

Выбрано товаров: 19