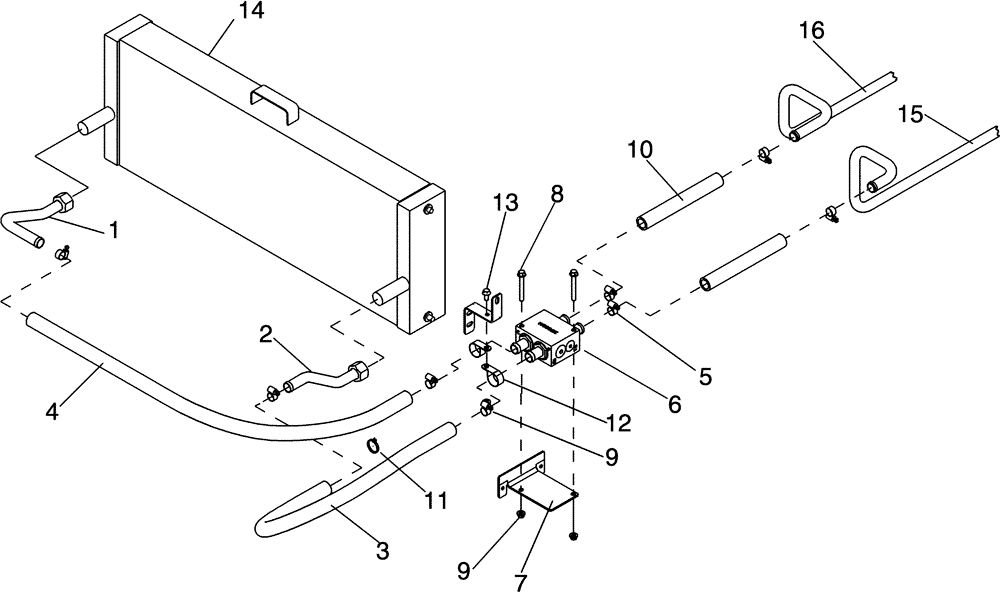
Запчасти Case IH 420 TIER 3 (06-01) - OIL COOLER SYSTEM (03) - POWER TRAIN

Схема запчастей Case IH 420 TIER 3 - (06-01) - OIL COOLER SYSTEM (03) - POWER TRAIN
1
11
8
13
5
7
3
10
12
9
4
2
16
14
9
15
6
FIT
1:1
100%

Артикул

Название

Примечание

Количество

1

87701653

HYD TUBE,1" OD

1шт.

2

87703751

TUBE,25.40 mm OD x 250 mm L

1шт.

3

87365373

1шт.

4

408845A1

HOSE

1шт.

5

214-1516

HOSE CLAMP,#16, 0.81" - 1.5", Type F Worm, W/ Liner

8шт.

6

87717000

1шт.

7

87710725

BRACKET

1шт.

8

86514459

BOLT,Hex Flg, 3/8" - 16 x 3"

2шт.

9

247780

SERRATED NUT,Flg, USR, 3/8"-16

3шт.

10

87470081

2шт.

11

291207C1

CLAMP

2шт.

12

515-23365

CLAMP,1 7/16", Insul, 3/8" Bolt

2шт.

13

409-7612

BOLT,3/8"-16 x 1.09" OAL

1шт.

14

87682273

COOLER

1шт.

15

1990468C2

TUBE

1шт.

16

1990467C2

TUBE

1шт.

Выбрано товаров: 0