Запчасти Case IH 620 (04-07) - HARNESS STEERING CONSOLE AND PLATFORM (06) - ELECTRICAL SYSTEMS

Схема запчастей Case IH 620 - (04-07) - HARNESS STEERING CONSOLE AND PLATFORM (06) - ELECTRICAL SYSTEMS
29
16
6
20
15
11
26
17
28
2
34
23
15
25
20
6a
19
1
7
4
32
28
10
24
18
31
20
36
16
21
9
1
12
1
1
14
8
1
13
35
33
19
21
17
29
5
37
3
27
FIT
1:1
100%

Артикул

Название

Примечание

Количество

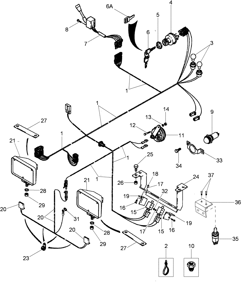
1

87305156

WIRE HARNESS

Steering Console

1шт.

2

435437A1

CABLE TIE,3/16" x 7 1/4"

CABLE STRAP

6шт.

3

D71346

TAIL LAMP,12V

No. 168

2шт.

4

282775A1

IGNITION SWITCH

Inc. 5, 6

1шт.

5

1964785C1

NUT

1шт.

6

1964831C2

IGNITION KEY

Padded

1шт.

7

1500137C2

FLASHER SWITCH

Horn

1шт.

8

614-4008

BOLT,Hex, M4 x 0.7 x 8mm, Cl 8.8, Full Thd

2шт.

9

87307261

INDICATOR LIGHT

1шт.

10

217-40

REDUCER,1/4"-18 NPTF x 1/8"-27 Fem NPTF

1шт.

11

237582A1

HORN

Warning

1шт.

12

614-6025

BOLT,Hex, M6 x 1 x 25mm, Cl 8.8, Full Thd

1шт.

13

892-11006

LOCK WASHER,M6

1шт.

14

829-1406

NUT,Hex, M6 x 1, Cl 10.9

1шт.

15

127286A1

SWITCH

Emergency Brake

2шт.

16

440-11012

SCREW,Cross Pan Hd, #10-24 x 3/4"

8шт.

17

492-11010

LOCK WASHER,#10

4шт.

18

231-51409

SERRATED NUT,Flg, USR, #10-24

4шт.

19

296466A1

BRACKET

Brake Switch

2шт.

20

390404A1

HARNESS

Aftercut Lamp

1шт.

21

284718A1

LAMP,Halogen, 12V, 35W, Clear

35W, Aftercut

2шт.

See Figure 04-28

1шт.

23

515-23159

CLAMP,5/8", Insul, 3/8" Bolt

4шт.

24

296643A1

BRACKET

Brake Switch

1шт.

25

614-8025

BOLT,Hex, M8 x 1.25 x 25mm, Cl 8.8, Full Thd

4шт.

26

832-10408

NUT,M8 x 1.25, Cl 8.8

4шт.

27

284564A2

PLATE

Aftercut Lamp

2шт.

27a

426-8104

BOLT,Hex, 1/2" - 13 x 6-1/2", Gr 8

(Not Shown)

2шт.

28

80679

LOCK WASHER,1/20.507 CST ZND

2шт.

29

425-108

NUT,1/2" - 13, Gr 5

2шт.

31

493-11039

LOCK WASHER,3/8", Int-Ext Tooth

1шт.

32

225-14110

NUT,#10-24

4шт.

33

87316983

SUPPORT

2шт.

34

1267247C1

SELF-TAP SCREW,Phil Pan Hd, #10 - 24 x 3/8", Cl 8.8

2шт.

35

1983341C1

SWITCH

2шт.

Model Year 2009 And After

1шт.

36

296462A1

SUPPORT

Brake Mounting Light

1шт.

Model Year 2009 And After

1шт.

37

614-6020

BOLT,Hex, M6 x 1 x 20mm, Cl 8.8, Full Thd

2шт.

Model Year 2009 And After

1шт.

Выбрано товаров: 40