Запчасти Case IH 620 (04-18) - BATTERY AND BATTERY CABLES (06) - ELECTRICAL SYSTEMS

Схема запчастей Case IH 620 - (04-18) - BATTERY AND BATTERY CABLES (06) - ELECTRICAL SYSTEMS
8
9
17
12
22
16
20
6
21
18
17
2
19
14
23
4
5
11
13
1
3
18
15
7
FIT
1:1
100%

Артикул

Название

Примечание

Количество

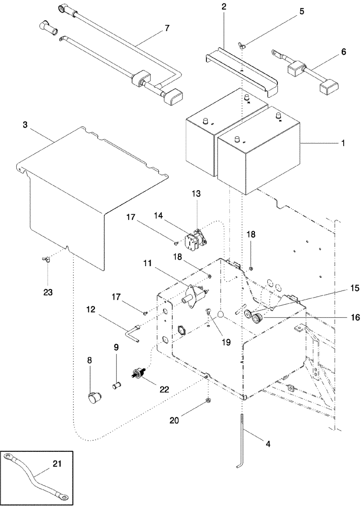
1

A187592

WET BATTERY

12V, Order From Ship Direct

2шт.

2

297575A1

SUPPORT

Battery Box

1шт.

3

87411078

COVER

Battery Box

1шт.

4

284881A1

TRUSS ROD,M8 - 1.25 x 240mm

9-5/8 in, Battery Hold Down

1шт.

5

934900R1

WING NUT

M8

1шт.

6

87413901

NEG BATTERY CABLE

Negative

1шт.

7

87393929

CABLE ASSY.

Positive

1шт.

8

359452A1

BOOT

Protective, Jump Start

1шт.

9

245739C1

BUSHING,3/8"-16, 19mm OD x 31.75mm W

1шт.

10

278044A1

CABLE

350 mm (13-3/4 in), Disconnect, European Model, (Not Shown)

1шт.

11

84004375

BATTERY CUT-OUT

Disconnect, Inc. 12

1шт.

12

189983A1

KEY

1шт.

13

183038A1

SOLENOID

Starter Relay

1шт.

14

178148A1

COVER

1шт.

15

1321767C1

GROMMET

3/8 x 1-1/2 x 3/8

1шт.

16

86976974

GROMMET,19.05mm ID x 41.1mm OD x 26.9mm Thk

3./4 ID, Hose

1шт.

17

477-82508

SERRATED SCREW,Sl Truss Hd, 1/4" - 20 x 1/2"

4шт.

18

231-5144

SERRATED NUT,Flg, USR, 1/4"-20

4шт.

19

477-73812

SERRATED SCREW,Truss HD, 3/8" - 16 x 3/4"

1шт.

20

231-5146

FLANGE NUT,3/8"-16

1шт.

21

87646040

CABLE

500 mm (19-11/16 in), Engine Ground

1шт.

22

190158A1

BLOCK

Junction Box

1шт.

23

129-419

WING NUT,5/16"-18

1шт.

Выбрано товаров: 23