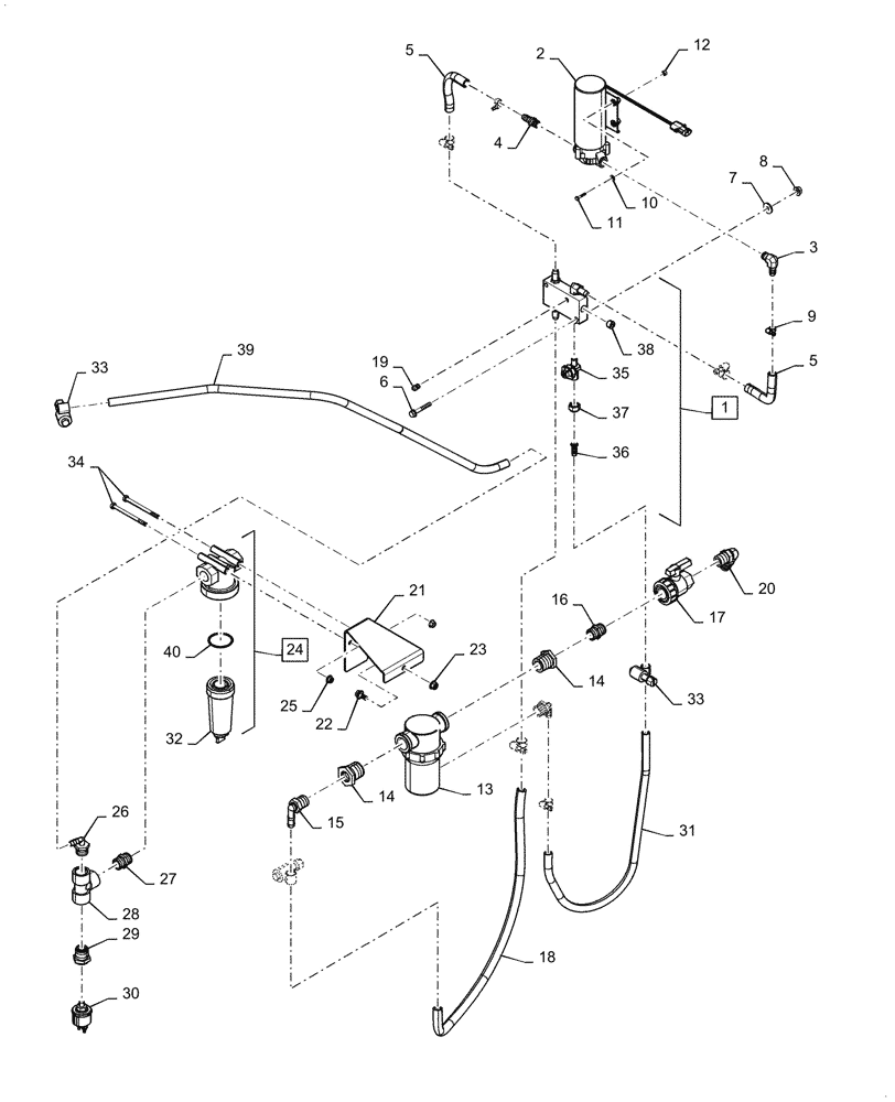
Запчасти Case IH 620 (09B-03) - MOISTENER SYSTEM (14) - WATER SYSTEM

Схема запчастей Case IH 620 - (09B-03) - MOISTENER SYSTEM (14) - WATER SYSTEM
2
34
28
37
23
21
35
22
30
31
10
15
12
14
38
4
27
24
36
33
6
33
26
32
20
5
19
7
13
39
1
17
40
29
14
9
25
11
8
5
16
3
18
FIT
1:1
100%

Артикул

Название

Примечание

Количество

1

414948A1

VALVE

Moistener System, Incl 35 - 38

1шт.

2

374204A1

PUMP, WATER

Electric, Moistener Diaphram

1шт.

3

217-290

FITTING,90 Degree Elbow, 1/2" Hose Barb x 3/8" Male NPTF

1шт.

4

217-123

FITTING,1/2" Hose Barb x 3/8" Male NPTF

1шт.

5

1982241C1

HOSE

Vinyl

2шт.

6

458-532

BOLT,Hex, 5/16" - 18 x 2", Gr 5

2шт.

7

496-41034

WASHER,.344" x 1" x .098", HDN

2шт.

8

231-5346

FLANGE NUT,Flg, 3/8"-16

2шт.

9

214-1708

HOSE CLAMP,#08, 0.5" - 0.91", Type M Worm

6шт.

10

495-31022

WASHER,#10

4шт.

11

463-11016

SCREW,Hex Hd, #10-24 x 1"

4шт.

12

231-14109

LOCK NUT,#10-24, GB

4шт.

13

87006C92

FILTER

Water

1шт.

14

BN53665

BUSHING

1" x 3/4" Reducer

2шт.

15

BN73578

FITTING

90°

1шт.

16

1345155C1

ADAPTER

3/4 x 3/4 Plastic

1шт.

17

BN324588

VALVE

Ball

1шт.

18

1345206C1

HOSE,0.50" ID x 42.00"

1шт.

19

217-497

DRAIN PLUG,Sq Hd, 1/8" - 27 NPTF, Brass

1шт.

20

134271C2

ELBOW,ELBOW, 90

90°

1шт.

21

84511649

BRACKET

Strainer Mount

1шт.

22

409-7612

BOLT,3/8"-16 x 1.09" OAL

1шт.

23

231-5146

FLANGE NUT,3/8"-16

1шт.

24

84496378

FILTER STRAINER

100 Mesh, Incl 31, 32

1шт.

25

231-5146

FLANGE NUT,3/8"-16

2шт.

26

1339135C1

ELBOW

90°

2шт.

27

BN73565

NIPPLE,3/4" Male NPT x 3/4" Male NPT, Poly

1шт.

28

BN73560

TEE

3/4" Ploy Pipe

1шт.

29

87385590

BUSHING,3/4" MPT x 1/8" FPT Reducing Bushing

3/4" x 1/8"

1шт.

30

141062A1

SENSOR

80 PSI Pressure

1шт.

31

87417263

HOSE

100FT Bulk Roll

1шт.

32

84567062

SCREEN,100 Mesh Screen

Filter Strainer

1шт.

33

214-1704

HOSE CLAMP,#04, 0.25" - 0.62", Type M Worm

4шт.

34

189298

BOLT,Hex, 5/16" - 18 x 4", Gr 5

2шт.

35

1339011C1

CHECK VALVE

Moistener System

1шт.

36

1339130C1

FITTING

Moistener System

1шт.

37

1339129C1

NUT

Moistener System

1шт.

38

217-428

PLUG,Hex Soc, 1/8" - 27 NPTF

1шт.

39

87417263

HOSE

Water Lines

1шт.

40

84567058

GASKET,3/4" & 1" EPDM Gasket

1шт.

Выбрано товаров: 40