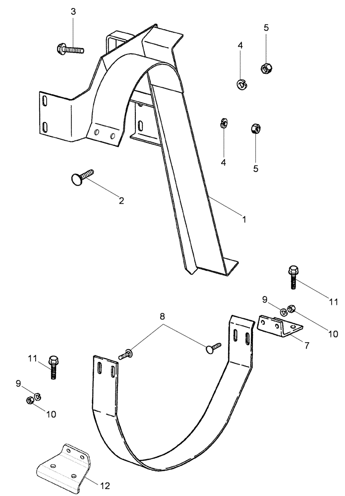
Запчасти Case IH 620 (09C-11) - FAN PULLEY GUARDS (15) - HANDLING SYSTEM

Схема запчастей Case IH 620 - (09C-11) - FAN PULLEY GUARDS (15) - HANDLING SYSTEM
11
8
7
9
10
12
10
1
11
5
4
2
9
3
4
5
FIT
1:1
100%

Артикул

Название

Примечание

Количество

1

87602598

SHIELD

Upper

1шт.

2

433-512

CARRIAGE BOLT,Sq Nk, 5/16" - 18 x 3/4", Gr 5

4шт.

3

409-7520

BOLT,Hex Flg, 5/16" - 18 x 1 1/4", Spcl

1шт.

4

492-11031

LOCK WASHER,5/16"

5шт.

5

425-105

NUT,5/16"-18, G5

5шт.

6

84201832

GUARD

Lower

1шт.

7

1994885C1

SUPPORT

Guard Pulley

1шт.

8

434-412

CARRIAGE BOLT,Sht Sq Nk, 1/4" - 20 x 3/4", Gr 5

4шт.

9

492-11025

LOCK WASHER,1/4"

4шт.

10

425-104

NUT,1/4"-20, Cl 5

4шт.

11

409-7512

BOLT,Hex Flg, 5/16" - 18 x 3/4", Spcl

4шт.

12

84201838

BRACKET

Guard Pulley

1шт.

Выбрано товаров: 12