Запчасти Case IH 625 (35.910.26[01]) - DRUM CONTROL VALVES AND LIFT CYLINDER SYSTEM, MODEL YEAR 2008 AND PRIOR (35) - HYDRAULIC SYSTEMS

Схема запчастей Case IH 625 - (35.910.26[01]) - DRUM CONTROL VALVES AND LIFT CYLINDER SYSTEM, MODEL YEAR 2008 AND PRIOR (35) - HYDRAULIC SYSTEMS
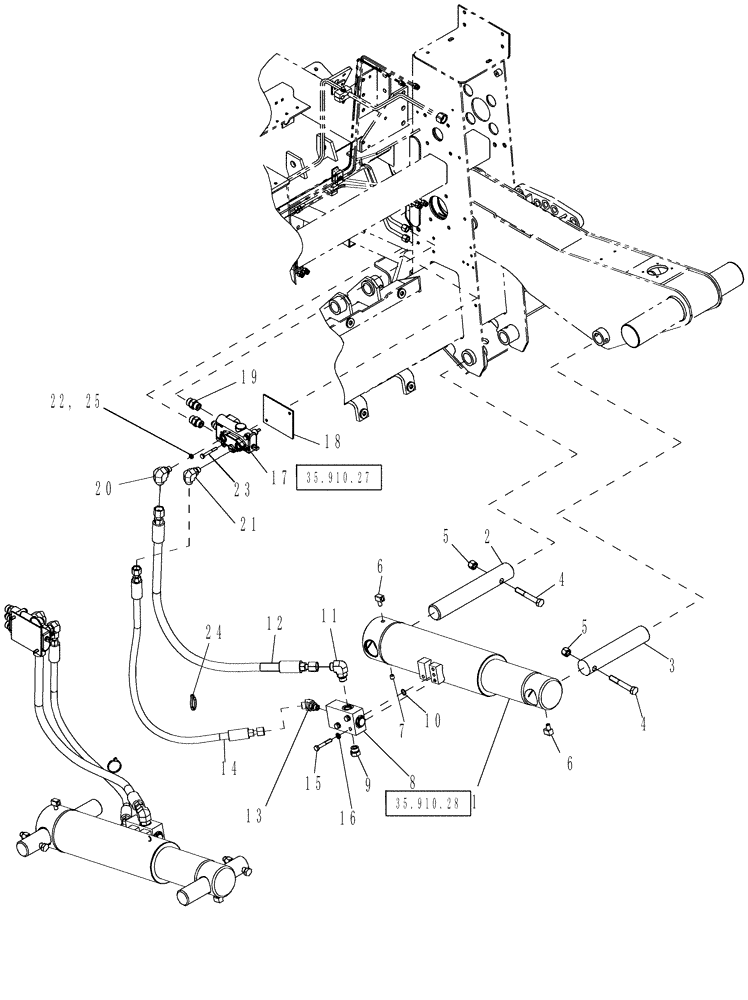
1
14
15
4
20
13
3
8
24
19
4
11
6
23
6
35.910.28
35.910.27
17
5
10
9
18
7
2
5
12
21
16
FIT
1:1
100%

Артикул

Название

Примечание

Количество

1

87272663

HYDRAULIC CYLINDER,88.9mm Rod, 271.5mm Stroke

Hydraulic Drum Lift

2шт.

2

348316A1

PIN,44.21mm OD x 280mm L

Lower Cylinder

2шт.

3

1983053C2

PIN

Upper Cylinder

2шт.

4

413-852

BOLT,Hex, 1/2" - 13 x 3-1/4", Gr 5

4шт.

5

231-4138

LOCK NUT,1/2"-13, GB

4шт.

6

217-20

ELBOW,90 Degree, 1/8"-28 NPTF, Fem x 1/8"-27 NPTF Male

4шт.

7

217-429

PLUG,Hex Soc, 1/8" - 27 NPTF

2шт.

8

1346043C1

VALVE, CHECK

2шт.

9

218-5156

PLUG,Hex Hd, 3/4"-16 ORB

2шт.

10

238-6014

O-RING,0.07" Thk x 0.489" ID, -14, Cl 6, 90 Duro

2шт.

11

201-305

ELBOW,90 Degree Elbow, 13/16" - 16 Male ORFS x 3/4" - 16 Male ORB

2шт.

12

1984279C1

HOSE

Raise Basket Slave

2шт.

13

201-315

ELBOW,45 Degree Elbow, 11/16" - 16 Male ORFS x 9/16" - 18 Male ORB

2шт.

14

1984280C1

HOSE

Raise Basket Slave

2шт.

15

326-532

BOLT,Hex, 5/16" - 18 x 2", Gr 8

6шт.

16

492-11031

LOCK WASHER,5/16"

6шт.

17

87619297

VALVE

Drum Height Control

2шт.

18

1988976C1

PLATE

Rubber ISO Mount

2шт.

19

201-102

HYD CONNECTOR,13/16" - 16 Male ORFS x 3/4" - 16 Male ORB

4шт.

20

201-332

ELBOW,90 Degree Elbow, 13/16" - 16 Male ORFS x 9/16" - 18 Male ORB

2шт.

21

201-304

ELBOW,90 Degree Elbow, 11/16" - 16 Male ORFS x 9/16" - 18 Male ORB

2шт.

22

1288998C3

PLATE

Orifice 0.094

2шт.

23

413-432

BOLT,Hex, 1/4" - 20 x 2", Gr 5

4шт.

24

291207C1

CLAMP

Cable Strap

2шт.

25

1546331C1

PORT

Orifice 0.094

2шт.

Выбрано товаров: 25