Запчасти Case IH 625 (50.200.05) - AIR CONDITIONING SYSTEM - COMPRESSOR MOUNTING AND DRIVE (50) - CAB CLIMATE CONTROL

Схема запчастей Case IH 625 - (50.200.05) - AIR CONDITIONING SYSTEM - COMPRESSOR MOUNTING AND DRIVE (50) - CAB CLIMATE CONTROL
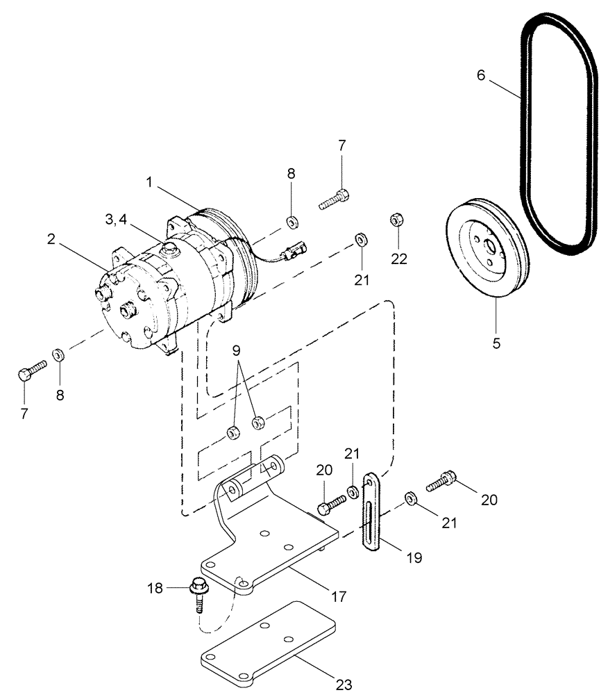
17
7
1
20
6
8
18
5
21
7
21
2
20
22
8
21
4
23
19
9
3
FIT
1:1
100%

Артикул

Название

Примечание

Количество

86993462

AIRCOND. COMPRESSOR

Inc. 1 - 4

1шт.

86993462GV

AIRCOND. COMPRESSOR

Value

1шт.

86993462R

REMAN-COMPRESSOR

MODULE EXPRESS 625 COTTON PICKER 6256R (6/06-)

1шт.

86993462C

CORE-COMPRESSOR

Return Number

1шт.

48017123R

REMAN-A/C COMP KIT

Reman A/C Compressor Kit

1шт.

48017123C

REMAN-A/C COMP KIT

Return Number

1шт.

1

135324A2

CLUTCH

1шт.

2

NSS

NOT SOLD SEPARAT

COMPRESSOR

1шт.

3

A49667

PLUG

1шт.

4

128483A1

O-RING,1.78mm Thk x 7.65mm ID, 70 Duro

5/16 ID x 1/16

1шт.

5

431716A1

PULLEY,147mm OD

Compressor Drive

1шт.

6

87351975

V-BELT,12.70 mm W x 1007.00 mm L

Drive

1шт.

7

854-10035

BOLT,Hvy Hex, M10 x 35mm, Cl 10.9

2шт.

8

895-15010

WASHER,11mm ID x 24mm OD x 2mm Thk

2шт.

9

829-2310

FLANGE NUT,M10 x 1.5, Flg, Cl 10

2шт.

17

87272605

MOUNTING PARTS

Bracket Compressor

1шт.

18

905-10025

BOLT,Hex Flg, M10 x 25mm

4шт.

19

84716C1

SUPPORT

Adjusting

1шт.

20

614-10035

BOLT,Hex, M10 x 1.5 x 35mm, Cl 8.8, Full Thd

2шт.

21

896-16010

WASHER,11mm ID x 24mm OD x 3mm Thk

3шт.

22

832-41310

NUT,M10 x 1.5, Cl 10

1шт.

23

87271896

SPACER

Air Conditioning Mount

1шт.

Выбрано товаров: 22