Запчасти Case IH 625 (74.141.07) - FAN DRIVE (74) - CLEANING

Схема запчастей Case IH 625 - (74.141.07) - FAN DRIVE (74) - CLEANING
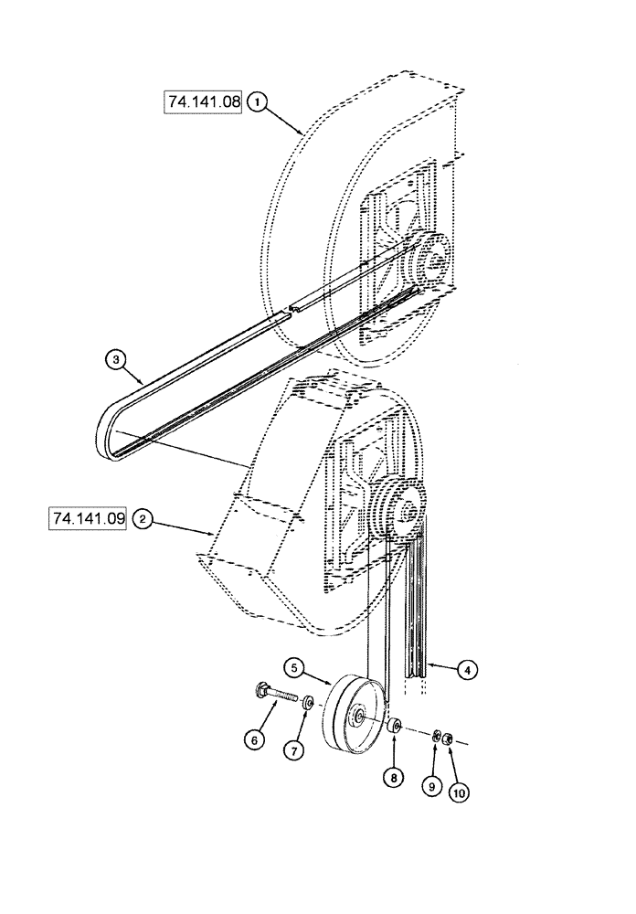
7
2
4
1
10
6
3
9
5
74.141.09
74.141.08
8
FIT
1:1
100%

Артикул

Название

Примечание

Количество

1

449982A1

FAN HOUSING

Front

1шт.

2

87459078

FAN

Rear

1шт.

3

1338328C1

V-BELT,12.45 mm W x 1223.87 mm L

Fan Drive, Front

1шт.

4

87594757

CONVEYOR BELT,0.63" W x 76.00" L, 3 Ribs

Fan Drive, Rear

1шт.

5

1990198C1

PULLEY

10" dia, Fan Idler

1шт.

6

413-860

BOLT,Hex, 1/2" - 13 x 3-3/4", Gr 5

1шт.

7

622535R1

SPACER,1/2" X-Strng Pipe x 7/16"

Front Drive

1шт.

8

25847D

SPACER,1/2" X-Strng Pipe x 11/16"

1шт.

9

80679

LOCK WASHER,1/20.507 CST ZND

1шт.

10

425-108

NUT,1/2" - 13, Gr 5

1шт.

Выбрано товаров: 10