Запчасти Case IH 625 (74.141.15) - CONVEYOR CHUTES - DUAL CENTER TELESCOPING, 6 ROW WIDE, NO. 3F, 4R (74) - CLEANING

Схема запчастей Case IH 625 - (74.141.15) - CONVEYOR CHUTES - DUAL CENTER TELESCOPING, 6 ROW WIDE, NO. 3F, 4R (74) - CLEANING
10
26
6
27
1
2
12
5
24
18
19
9
13
4
22
20
3
13
8
16
5
5
21
30
7
12
11
23
12
16
5
17
FIT
1:1
100%

Артикул

Название

Примечание

Количество

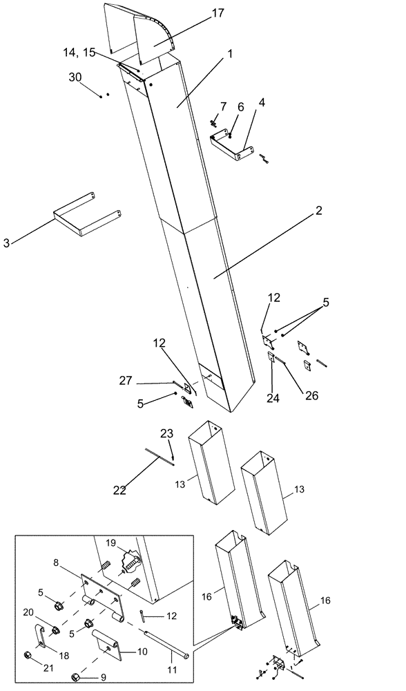
1

87397300

CHUTE ASSY.

Upper

1шт.

2

87397303

CHUTE ASSY.

Double Lower Upper Center

1шт.

3

87661974

BRACKET

Lower Strap

1шт.

4

87661973

BRACKET

Lower

1шт.

5

231-5146

FLANGE NUT,3/8"-16

4шт.

6

231-5145

SERRATED NUT,Flg, USR, 5/16"-18

8шт.

7

413-532

BOLT,Hex, 5/16" - 18 x 2", Gr 5

4шт.

8

1349843C1

HINGE

Female

4шт.

9

231-4116

NUT,3/8"-16, GB

2шт.

10

1270014C1

HINGE

Male

4шт.

11

1349860C1

PIN,7.94mm OD x 129mm L

4шт.

12

432-816

COTTER PIN,1/8" x 1"

4шт.

13

1349938C1

CHUTE

Female, Outer, No. 3F, 4R

2шт.

14

87327190

SCREW,Truss HD, 1/4" x 1/2", Gr 8

4шт.

15

231-5144

SERRATED NUT,Flg, USR, 1/4"-20

4шт.

16

1349934C3

CHUTE

Male, Lower, Outer, No. 3F, 4R

2шт.

17

87663210

CHUTE

Hood, Center Double

1шт.

18

1984343C1

HOOK

Air Pipe

2шт.

19

477-73120

SERRATED SCREW,Truss HD, 5/16" - 18 x 1-1/4"

2шт.

20

231-5145

SERRATED NUT,Flg, USR, 5/16"-18

2шт.

21

231-4115

NUT,5/16"-18, GB

4шт.

22

233320A2

PIN,7.94mm OD x 194.5mm L

Single Conveyor Chute

2шт.

23

136-159

HAIR PIN COTTER,Int, 3/16 x .080"

2шт.

24

1270014C1

HINGE

Upper

3шт.

25

231-5146

FLANGE NUT,3/8"-16

1шт.

26

1349860C1

PIN,7.94mm OD x 129mm L

Upper Hinge

2шт.

27

413-588

BOLT,Hex, 5/16" - 18 x 5-1/2", Gr 5

1шт.

Выбрано товаров: 27