Запчасти Case IH 625 (74.141.24) - CHARGE AIR COOLER AND SUPPORTS (74) - CLEANING

Схема запчастей Case IH 625 - (74.141.24) - CHARGE AIR COOLER AND SUPPORTS (74) - CLEANING
4
11
11
14
6
19
23
15
12
22
2
11
16
5
24
10
10
13
20
10
10
10
11
7
11
18
1
26
3
21
10
25
11
17
FIT
1:1
100%

Артикул

Название

Примечание

Количество

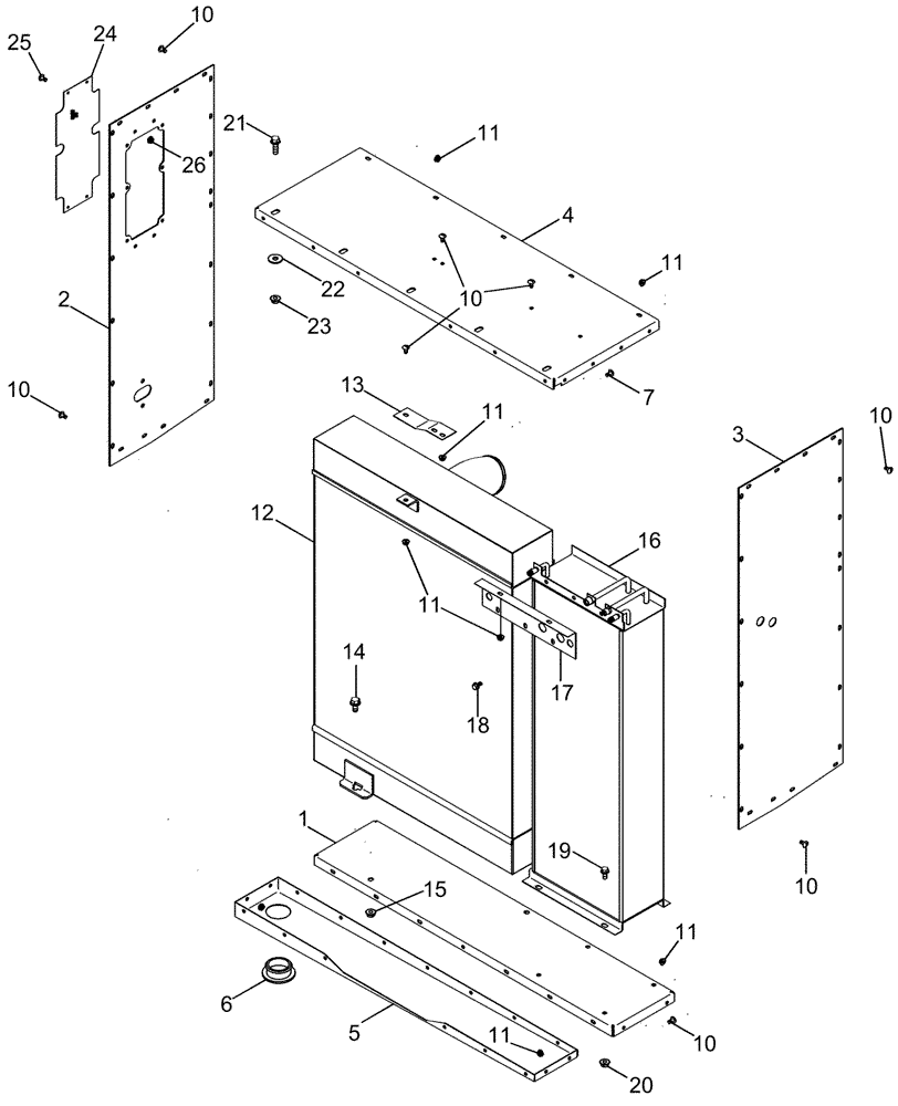
1

392238A1

SHEET

Rear, Cooler Floor

1шт.

2

392772A2

SHEET

Left Hand

1шт.

3

392774A1

SHEET

Right Hand

1шт.

4

392237A1

SHEET

Rear, Screen

1шт.

5

392780A2

SHEET

1шт.

6

205-128

HOLE PLUG BUTTON,2 1/2"

1шт.

7

477-73120

SERRATED SCREW,Truss HD, 5/16" - 18 x 1-1/4"

1шт.

10

477-73112

SERRATED SCREW,Sl Truss Hd, 5/16" - 18 x 3/4"

48шт.

11

231-5145

SERRATED NUT,Flg, USR, 5/16"-18

49шт.

12

254404A2

AFTERCOOLER

Charge Air

1шт.

13

313839A2

BRACKET

1шт.

14

409-7816

BOLT,Hex Flg, 1/2" - 13 x 1", Spcl

2шт.

15

231-5148

FLANGE NUT,Flg, USR, 1/2"-13

2шт.

16

321103A2

CONDENSER

1шт.

17

315039A3

BRACKET

1шт.

18

905-8012

BOLT,Hex Flg, M8 x 12mm

3шт.

19

409-7612

BOLT,3/8"-16 x 1.09" OAL

4шт.

20

231-5146

FLANGE NUT,3/8"-16

4шт.

21

434-820

CARRIAGE BOLT,Sht Sq Nk, 1/2" - 13 x 1 1/4", Gr 5

5шт.

22

495-21056

WASHER,1/2"

5шт.

23

231-5148

FLANGE NUT,Flg, USR, 1/2"-13

5шт.

24

87418232

SCREEN

Duct Air Inlet

1шт.

25

477-82508

SERRATED SCREW,Sl Truss Hd, 1/4" - 20 x 1/2"

4шт.

26

231-5144

SERRATED NUT,Flg, USR, 1/4"-20

4шт.

Выбрано товаров: 24