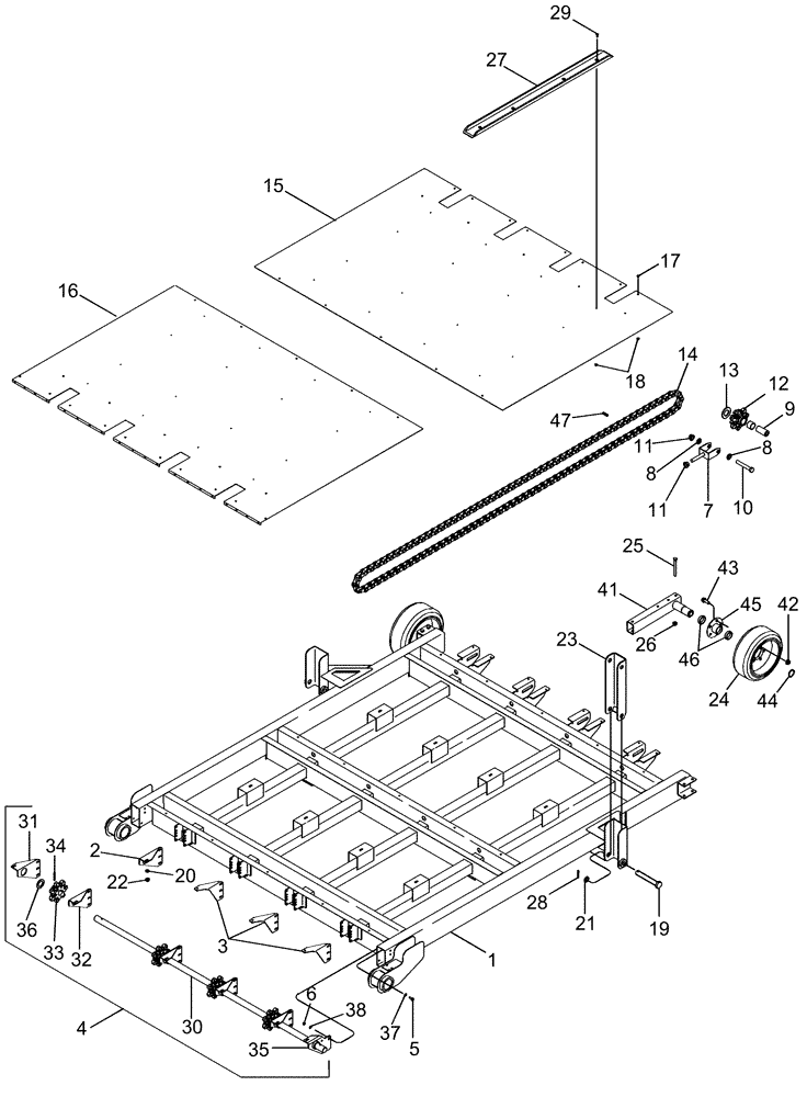
Запчасти Case IH 625 (80.200.18) - MODULE DOOR, SECONDARY (80) - CROP STORAGE/UNLOADING

Схема запчастей Case IH 625 - (80.200.18) - MODULE DOOR, SECONDARY (80) - CROP STORAGE/UNLOADING
30
32
25
2
27
37
26
43
11
11
12
6
29
31
38
1
15
28
5
47
9
34
36
4
24
46
16
44
17
19
45
13
41
8
10
33
35
42
3
18
21
22
23
14
7
8
20
FIT
1:1
100%

Артикул

Название

Примечание

Количество

1

87592781

DOOR

1шт.

2

87393047

SUPPORT ASSY.

Conveyor Shaft, Right Hand

1шт.

3

87393057

SUPPORT ASSY.

Sheet Left Hand

3шт.

4

87457740

SHAFT ASSY.

Door, Inc. 30 - 36

1шт.

5

409-7516

BOLT,Hex Flg, 5/16" - 18 x 1", Spcl

28шт.

6

231-5145

SERRATED NUT,Flg, USR, 5/16"-18

2шт.

6

425-105

NUT,5/16"-18, G5

26шт.

7

87422316

YOKE

Chain Adjustment

4шт.

8

495-11081

WASHER,3/4", SAE

8шт.

9

87422320

PIPE

Idler Pulley Pivot

4шт.

10

326-1280

BOLT,Hex, 3/4" - 10 x 5", Gr 8

4шт.

11

131-935

FLANGE NUT,Flg, 3/4"-10, G8

8шт.

12

NSS

NOT SOLD SEPARAT

SPROCKET, 7 Tooth Idler

4шт.

13

495-11162

WASHER,1 1/2" x 3" x .165"

4шт.

14

87604148

CHAIN (AG)

Door

4шт.

15

87444932

SHEET ASSY.

Floor, Door Lower

1шт.

16

87603099

SHEET ASSY.

Door, Front

1шт.

17

87538570

SERRATED SCREW,1/4" - 20 x 3/4", Gr 8

33шт.

18

231-5144

SERRATED NUT,Flg, USR, 1/4"-20

26шт.

19

87390953

PIN

Door, Barrel

2шт.

20

495-21031

WASHER,1/4"

7шт.

21

495-81069

WASHER,1-1/32" ID x 1-1/2" OD x 3/50" Thk

2шт.

22

231-5344

FLANGE NUT,Flg, 1/4"-20

7шт.

23

87596283

CHANNEL

Drag Link

2шт.

24

84372581

TIRE TUBE

Door

2шт.

25

413-880

BOLT,Hex, 1/2" - 13 x 5", Gr 5

4шт.

26

231-5148

FLANGE NUT,Flg, USR, 1/2"-13

4шт.

27

87383166

CHANNEL

Conveyor Chain Guide

8шт.

28

432-1632

COTTER PIN,1/4" x 2"

2шт.

29

375676A1

RIVET,Pop, 6.42mm OD x 24.64mm L

32шт.

30

87393003

SHAFT

Unloader Chain Drive

1шт.

31

87393000

HOUSING ASSY.

Conveyor Shaft, Left Hand

1шт.

32

87393004

HOUSING ASSY.

Conveyor Shaft, Right Hand

4шт.

33

87595712

SPROCKET

Pintle 7T Drive

4шт.

34

38-12036

LOCK PIN,5/16" x 2 1/4", Slotted

4шт.

35

87388888

SUPPORT ASSY.

Conveyor Shaft

1шт.

36

495-81225

WASHER,1 17/32" x 2 1/2" x .060"

2шт.

37

496-21034

WASHER,11/32" x 11/16" x 0.89", HDN

26шт.

38

492-11031

LOCK WASHER,5/16"

26шт.

41

87433112

SUPPORT

Secondary Door Wheel

2шт.

42

232-51310

FLANGE NUT,Flg, USR, 5/8"-12

10шт.

43

360-1028

BOLT,Hex, 5/8" - 11 x 1 3/4", Gr 8

10шт.

44

103-11200

SNAP RING,#200, Ext

2шт.

45

87433102

HOUSING ASSY.

2шт.

46

87324086

BUSHING,50.94mm ID x 57.26mm OD x 12.7mm L

2шт.

47

1329837C2

PIN,2.63mm OD

4шт.

Выбрано товаров: 46