Запчасти Case IH 635 (35.910.37) - MODULE COMPACTOR CYLINDER ASSEMBLY (35) - HYDRAULIC SYSTEMS

Схема запчастей Case IH 635 - (35.910.37) - MODULE COMPACTOR CYLINDER ASSEMBLY (35) - HYDRAULIC SYSTEMS
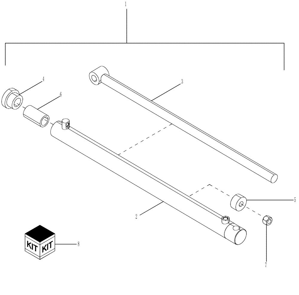
5
7
3
6
4
8
2
1
FIT
1:1
100%

Артикул

Название

Примечание

Количество

1

87382534

CYLINDER ASSY.,Double Acting, 25.4mm Rod, 1000.5mm Stroke

Compactor 1310mm, 3" Bore, Incl 2 - 7

2шт.

2

NSS

NOT SOLD SEPARAT

Tube, Incl in 1

1шт.

3

NSS

NOT SOLD SEPARAT

Rod, Incl in 1

1шт.

4

87701068

GLAND

1шт.

5

87377190

REPAIR KIT

Piston

1шт.

6

NSS

NOT SOLD SEPARAT

Spacer, Incl in 1

1шт.

7

87314800

LOCK NUT

1шт.

8

87701071

SEAL KIT

1шт.

Выбрано товаров: 8