Запчасти Case IH 635 (55.100.03 [01]) - MAIN CAB HARNESS (55) - ELECTRICAL SYSTEMS

Схема запчастей Case IH 635 - (55.100.03 [01]) - MAIN CAB HARNESS (55) - ELECTRICAL SYSTEMS
18
5
27
9
3
26
25
2
11
19
5
8
15
17
10
6
2
24
16
12
21
13
20
5
7
22
23
14
4
FIT
1:1
100%

Артикул

Название

Примечание

Количество

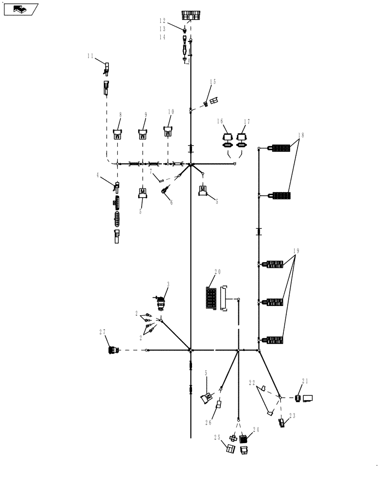
1

84260402

WIRE HARNESS

Main Cab Inc.2-27

1шт.

1

84547574

WIRE HARNESS

Main Cab, Not Illustrated, Start Year: 04-JAN-12

1шт.

2

NSS

NOT SOLD SEPARAT

TERMINAL, 210, 15A, 186, 2A

4шт.

3

NSS

NOT SOLD SEPARAT

CONNECTOR, 3 Pin Plug

1шт.

4

245488C1

ELEC CONNECTOR,6 Pin

plug 6 Pin

1шт.

5

NSS

NOT SOLD SEPARAT

CONNECTOR, 12 Pin Plug

2шт.

6

NSS

NOT SOLD SEPARAT

CONNECTOR

1шт.

7

NSS

NOT SOLD SEPARAT

TERMINAL, 14E

1шт.

8

NSS

NOT SOLD SEPARAT

CONNECTOR, 12 Pin Plug

1шт.

9

NSS

NOT SOLD SEPARAT

CONNECTOR, 12 Pin Plug

1шт.

10

NSS

NOT SOLD SEPARAT

CONNECTOR, 12 Pin Plug

1шт.

11

245485C1

ELEC CONNECTOR,Male, 3 Pin

3 Pin

1шт.

12

179483A1

CONNECTOR, ELEC

CONNECTOR 23 Pin

1шт.

13

245481C1

CONNECTION,ELECTRIC

2 Pin

1шт.

14

245480C1

ELEC CONNECTOR,1 Pin

1шт.

15

NSS

NOT SOLD SEPARAT

CONNECTOR, 2 Pin Plug

1шт.

16

225389C1

CONNECTOR, ELEC

CONNECTOR 12 Pin Plug

1шт.

17

225402C1

CONNECTOR, ELEC

CONNECTOR 12 Pin Plug

1шт.

18

NSS

NOT SOLD SEPARAT

CONNECTOR, 20 Pin Plug

2шт.

19

NSS

NOT SOLD SEPARAT

CONNECTOR, 30 Pin Plug

3шт.

20

NSS

NOT SOLD SEPARAT

CONNECTOR, 72 Pin Plug

1шт.

21

225351C1

ELEC CONNECTOR,Female, 6 Pin

6 Pin Plug

1шт.

22

NSS

NOT SOLD SEPARAT

CONNECTOR, 1 Pin Plug

2шт.

23

87711966

PLUG

2 Pin

1шт.

24

NSS

NOT SOLD SEPARAT

CONNECTOR, 9 Pin Plug

1шт.

25

NSS

NOT SOLD SEPARAT

4 Way Plug

1шт.

26

NSS

NOT SOLD SEPARAT

CONNECTOR, 6 Pin Plug

1шт.

27

NSS

NOT SOLD SEPARAT

CONNECTOR, 16 Pin Plug

1шт.

Выбрано товаров: 28