Запчасти Case IH 635 (55.100.04) - HARNESS STEERING CONSOLE AND PLATFORM (55) - ELECTRICAL SYSTEMS

Схема запчастей Case IH 635 - (55.100.04) - HARNESS STEERING CONSOLE AND PLATFORM (55) - ELECTRICAL SYSTEMS
1
2
11
17
27
21
23
4
32
14
25
1
6
15
19
36
29
19
33
16
20
10
6a
31
20
28
34
8
1
13
9
15
21
18
29
3
27
26
1
28
35
17
24
1
20
37
5
7
12
16
FIT
1:1
100%

Артикул

Название

Примечание

Количество

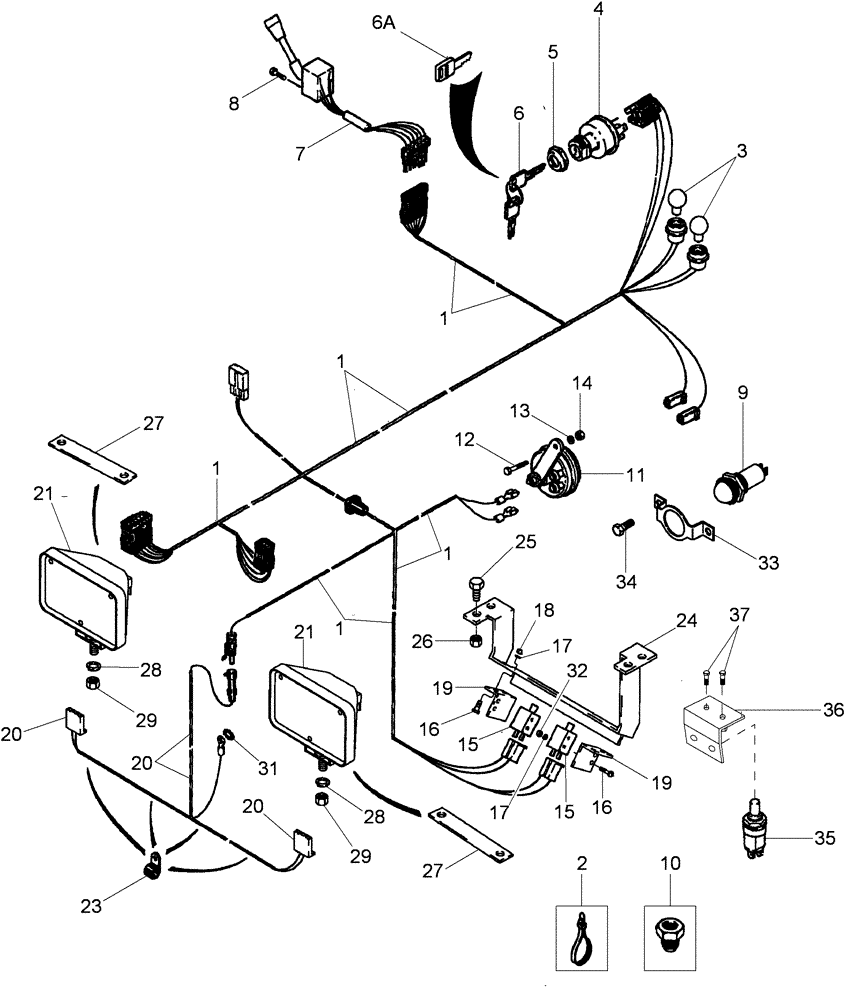
1

87305156

WIRE HARNESS

Steering Console

1шт.

2

435437A1

CABLE TIE,3/16" x 7 1/4"

CABLE STRAP

6шт.

3

D71346

TAIL LAMP,12V

No. 168

2шт.

4

282775A1

IGNITION SWITCH

Inc. 5, 6

1шт.

5

1964785C1

NUT

1шт.

6

1964831C2

IGNITION KEY

Padded

1шт.

7

1500137C2

FLASHER SWITCH

Horn

1шт.

8

614-4008

BOLT,Hex, M4 x 0.7 x 8mm, Cl 8.8, Full Thd

2шт.

10

217-40

REDUCER,1/4"-18 NPTF x 1/8"-27 Fem NPTF

1шт.

11

237582A1

HORN

Warning

1шт.

12

614-8020

BOLT,Hex, M8 x 1.25 x 20mm

1шт.

13

892-11008

LOCK WASHER,8mm ID

1шт.

14

825-5148

SERRATED NUT,M8, Flg Ser

1шт.

15

127286A1

SWITCH

Emergency Brake

2шт.

16

440-11012

SCREW,Cross Pan Hd, #10-24 x 3/4"

8шт.

17

492-11010

LOCK WASHER,#10

4шт.

18

231-51409

SERRATED NUT,Flg, USR, #10-24

4шт.

19

296466A1

BRACKET

Brake Switch

2шт.

20

390404A1

HARNESS

Aftercut Lamp

1шт.

21

284718A1

LAMP,Halogen, 12V, 35W, Clear

35W, Aftercut

2шт.

23

515-23159

CLAMP,5/8", Insul, 3/8" Bolt

4шт.

24

296643A1

BRACKET

Brake Switch

1шт.

25

614-8025

BOLT,Hex, M8 x 1.25 x 25mm, Cl 8.8, Full Thd

4шт.

26

832-10408

NUT,M8 x 1.25, Cl 8.8

4шт.

27

284564A2

PLATE

Aftercut Lamp

2шт.

27a

426-8104

BOLT,Hex, 1/2" - 13 x 6-1/2", Gr 8

(Not Shown)

2шт.

28

80679

LOCK WASHER,1/20.507 CST ZND

2шт.

29

425-108

NUT,1/2" - 13, Gr 5

2шт.

31

493-11039

LOCK WASHER,3/8", Int-Ext Tooth

1шт.

32

225-14110

NUT,#10-24

4шт.

33

296462A1

SUPPORT

Brake Light Mounting

1шт.

34

614-6020

BOLT,Hex, M6 x 1 x 20mm, Cl 8.8, Full Thd

2шт.

35

1983341C1

SWITCH

2шт.

Выбрано товаров: 33