Запчасти Case IH 635 (55.100.06 ) - LEFT HAND SIDE HARNESS (55) - ELECTRICAL SYSTEMS

Схема запчастей Case IH 635 - (55.100.06 ) - LEFT HAND SIDE HARNESS (55) - ELECTRICAL SYSTEMS
15
16
8
8
8
22
25
13
11
9
7
19
9
24
a
5
21
13
10
14
3
18
15
20
kc
8
6
9
17
13
19
18
13
13
13
11
19
6
11
9
23
2
a
12
10
15
4
17
15
10
11
17
10
9
FIT
1:1
100%

Артикул

Название

Примечание

Количество

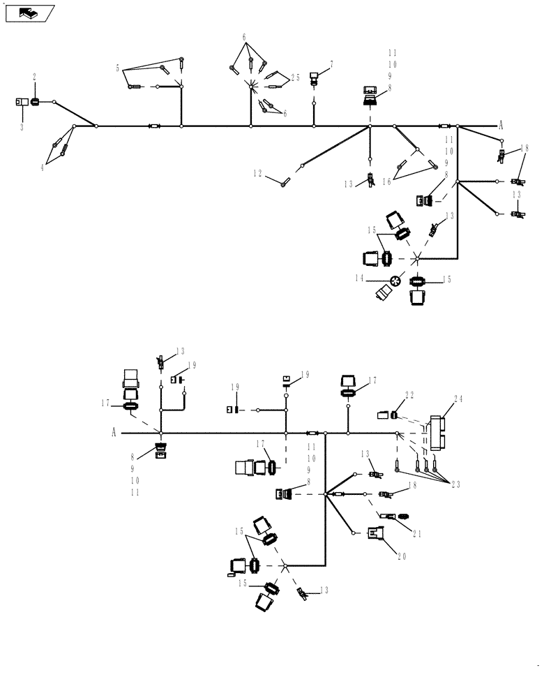
1

84412623

WIRE HARNESS

Left Hand Side

1шт.

2

280453A1

ELEC CONNECTOR,Male, 6 Pin

6 Pin Recepticle

1шт.

3

280455A1

WEDGE

6 Pin Lock

1шт.

4

NSS

NOT SOLD SEPARAT

TERMINALS, 61A,78 Back Up Alarm

2шт.

5

NSS

NOT SOLD SEPARAT

TERMINALS, 78A, 78B, 51A

3шт.

6

NSS

NOT SOLD SEPARAT

TERMINALS, 45A, 72B, 77A, 88A, 71A

5шт.

7

291718A1

ELEC CONNECTOR,Female, 2 Pin

2 Pin Plug

1шт.

8

182083A1

CONNECTOR, ELEC,Female, 6 Cavities

CONNECTOR 6 Pin Plug

4шт.

9

187309A1

BAR

Busebar

4шт.

10

187308A1

CAP

6 Pin

4шт.

11

NSS

NOT SOLD SEPARAT

TERMINAL, Lock

4шт.

12

NSS

NOT SOLD SEPARAT

TERMINAL, 75A

1шт.

13

245482C1

ELEC CONNECTOR,2 Pin

Plug 2 Pin

6шт.

14

225224C1

ELEC CONNECTOR,Female, 5 Pin

5 Pin Plug

1шт.

15

225319C1

MULTIPOLE CONNECTOR,Female, 8 Pin

8 Pin Plug

6шт.

16

NSS

NOT SOLD SEPARAT

TERMINAL, 47A, 45

2шт.

17

225389C1

CONNECTOR, ELEC

CONNECTOR 12 Pin Plug

3шт.

18

245484C1

ELEC CONNECTOR,3 Pin

Plug 3 Pin

3шт.

19

225152C1

ELEC CONNECTOR

2 Pin Plug

3шт.

20

225388C1

ELEC CONNECTOR,Male, 12 Pin

12 Pin Recepticle

1шт.

21

245485C1

ELEC CONNECTOR,Male, 3 Pin

3 Pin Recepticle

1шт.

22

225351C1

ELEC CONNECTOR,Female, 6 Pin

6 Pin

1шт.

23

NSS

NOT SOLD SEPARAT

TERMINAL, 77, 72A, 1A, 27A

4шт.

24

NSS

NOT SOLD SEPARAT

CONNECTOR, 70 Pin

1шт.

25

280386A1

ELEC CONNECTOR,Nickel, 2.0 - 3.0mm

75, 12A

2шт.

Выбрано товаров: 25