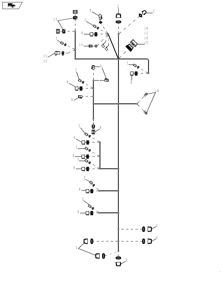
Запчасти Case IH 635 (55.510.02[02]) - HARNESS CONSOLE (55) - ELECTRICAL SYSTEMS

Схема запчастей Case IH 635 - (55.510.02[02]) - HARNESS CONSOLE (55) - ELECTRICAL SYSTEMS
7
6
7
15
4
7
9
6
11
7
9
7
18
6
7
7
6
3
5
14
6
10
8
16
7
12
9
2
2
7
7
6
17
6
6
13
FIT
1:1
100%

Артикул

Название

Примечание

Количество

1

84181290

WIRE HARNESS

Console 2009 and After

1шт.

2

225403C1

CONNECTOR, ELEC

CONNECTOR 12 Pin Plug Green

1шт.

3

225389C1

CONNECTOR, ELEC

CONNECTOR 12 Pin Plug Grey

3шт.

4

225402C1

CONNECTOR, ELEC

CONNECTOR 12 Pin Plug Black

1шт.

5

225465C1

CONNECTOR, ELEC

CONNECTOR 12 Pin Plug Brown

1шт.

6

225214C1

CONNECTOR, ELEC

CONNECTOR 8 Pin Plug

8шт.

7

225250C1

CONNECTOR,ELECTRIC

2 Pin Plug

9шт.

8

225350C1

ELEC CONNECTOR,Male, 6 Pin

6 Pin Plug

2шт.

9

225295C1

ELEC CONNECTOR,Female, 3 Pin

3 Pin Plug

4шт.

10

NSS

NOT SOLD SEPARAT

TERMINALS, 36A, 11A

2шт.

11

227389A1

CONNECTOR, ELEC

CONNECTOR

1шт.

12

NSS

NOT SOLD SEPARAT

4-Way Lock

1шт.

13

245432C1

CONNECTOR, ELEC

CONNECTOR 5 Pin Plug

2шт.

14

225316C1

ELEC CONNECTOR,Female, 2 Pin

2 Pin Plug

1шт.

15

182083A1

CONNECTOR, ELEC,Female, 6 Cavities

CONNECTOR 6 Pin Plug

1шт.

16

187309A1

BAR

6 Pin Buss

1шт.

17

187308A1

CAP

1шт.

18

182084A1

CONNECTOR, ELEC,Locking, Blue

CONNECTOR Lock

1шт.

Выбрано товаров: 18