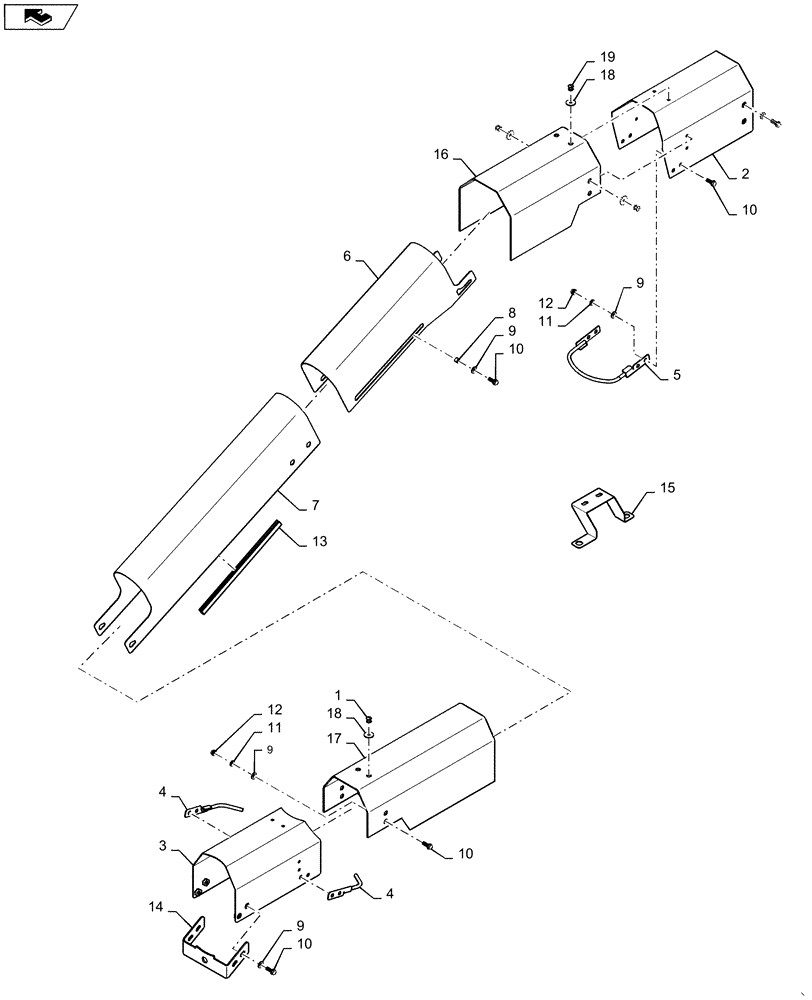
Запчасти Case IH 635 (60.600.50) - DRUM DRIVE SHAFT COVER (60) - PRODUCT FEEDING

Схема запчастей Case IH 635 - (60.600.50) - DRUM DRIVE SHAFT COVER (60) - PRODUCT FEEDING
18
9
8
9
9
11
4
11
7
5
10
1
12
10
15
18
10
2
home
12
10
16
4
19
9
13
14
17
6
3
FIT
1:1
100%

Артикул

Название

Примечание

Количество

1

151-512

RIVET,Pop, 4.75mm OD x 9.53mm L

12шт.

2

47399701

COVER

Clutch End

1шт.

3

47436581

COVER

Front Gear Box

1шт.

4

47436564

ROD

Cover Support

2шт.

5

47411527

ROD

Clutch End

1шт.

6

47399703

COVER

Upper Shaft

1шт.

7

47399707

COVER

Lower Shaft

1шт.

8

87605321

SPACER,6.8mm ID x 10.3mm OD x 6.4mm L

4шт.

9

87016587

WASHER,0.27" ID x 0.62" OD x 0.05" Thk

18шт.

10

86521549

BOLT,Hex, 1/4" - 20 x 1/2", Gr 5

18шт.

11

80682

LOCK WASHER,1/4"

8шт.

12

86624020

FLANGE NUT,Flg, 1/4"-20.G5

8шт.

13

NSS

NOT SOLD SEPARAT

Trim, Incl in Kit 47461228, see Fig 88.060.10

2шт.

14

47436562

MOUNT

Front Gearbox

1шт.

15

47400297

MOUNT

1шт.

16

47411497

COVER

Clutch End

1шт.

17

47436446

COVER

Rubber, Drum End

1шт.

18

86625235

WASHER,0.2" ID x 0.75" OD x 0.06" Thk

12шт.

Выбрано товаров: 18