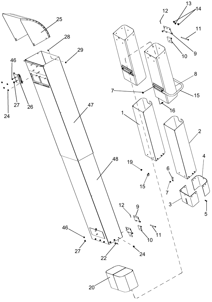
Запчасти Case IH 635 (74.141.16) - CONVEYOR CHUTES, DUAL OUTER TELESCOPING YIELD MONITOR, 6 ROW WIDE, NO. 1, 2, 5, 6, SUPER 4 ROW WIDE (74) - CLEANING

Схема запчастей Case IH 635 - (74.141.16) - CONVEYOR CHUTES, DUAL OUTER TELESCOPING YIELD MONITOR, 6 ROW WIDE, NO. 1, 2, 5, 6, SUPER 4 ROW WIDE (74) - CLEANING
20
19
15
2
27
8
27
22
7
25
7
5
12
11
46
9
9
12
14
48
24
46
28
26
10
1
24
29
4
10
16
6
13
3
11
15
47
FIT
1:1
100%

Артикул

Название

Примечание

Количество

1

226659A1

CHUTE

Male, Lower, Outer, No. 1R, 6F

2шт.

2

1349803C1

CHUTE

Male, Lower, Outer, No. 1F, 2F, 2R, 5F, 5R, 6R

2шт.

3

131427A2

SHEET

Polyurethane

8шт.

4

131428A2

SHEET

Polyurethane

8шт.

5

477-73120

SERRATED SCREW,Truss HD, 5/16" - 18 x 1-1/4"

8шт.

6

1984343C1

HOOK

Air Pipe

8шт.

7

231-5145

SERRATED NUT,Flg, USR, 5/16"-18

28шт.

8

1984139C3

CHUTE

Female, Outer, No. 1F, 1R, 2F, 2R, 5F, 5R, 6F, 6R

8шт.

9

1349843C1

HINGE

Female

16шт.

10

1270014C1

HINGE

Male

16шт.

11

1349860C1

PIN,7.94mm OD x 129mm L

16шт.

12

432-816

COTTER PIN,1/8" x 1"

16шт.

13

231-4116

NUT,3/8"-16, GB

16шт.

14

231-5146

FLANGE NUT,3/8"-16

16шт.

15

196609A1

BRACKET

Air Hose

4шт.

16

434-58

CARRIAGE BOLT,Sht Sq Nk, 5/16" - 18 x 1/2", Gr 5

12шт.

17

231-5145

SERRATED NUT,Flg, USR, 5/16"-18

12шт.

18

515-23190

CLAMP,3/4", Insul, 3/8" Bolt

8шт.

19

231-4115

NUT,5/16"-18, GB

8шт.

20

1349872C3

DIVIDER

Double Chute

4шт.

21

477-73108

SERRATED SCREW,Sl Truss Hd, 5/16" - 18 x 1/2"

80шт.

22

477-73112

SERRATED SCREW,Sl Truss Hd, 5/16" - 18 x 3/4"

15шт.

23

495-11034

WASHER,5/16", SAE

28шт.

24

231-5145

SERRATED NUT,Flg, USR, 5/16"-18

15шт.

25

87663208

CHUTE

Hood

1шт.

26

87368813

BRACKET

1шт.

27

231-5346

FLANGE NUT,Flg, 3/8"-16

1шт.

28

231-5144

SERRATED NUT,Flg, USR, 1/4"-20

5шт.

29

87327190

SCREW,Truss HD, 1/4" x 1/2", Gr 8

4шт.

32

1349843C1

HINGE

2шт.

34

1349860C1

PIN,7.94mm OD x 129mm L

4шт.

36

136-159

HAIR PIN COTTER,Int, 3/16 x .080"

8шт.

38

1270014C1

HINGE

Upper

2шт.

39

477-73112

SERRATED SCREW,Sl Truss Hd, 5/16" - 18 x 3/4"

14шт.

41

1349860C1

PIN,7.94mm OD x 129mm L

Upper Hinge

2шт.

43

1349872C3

DIVIDER

Double Chute Outer Assy

1шт.

45

1349843C1

HINGE

Upper

2шт.

46

231-5345

FLANGE NUT,Flg, 5/16"-18

1шт.

47

87559011

CHUTE ASSY.

Double Outer, Upper Yield Monitor

1шт.

48

87559014

CHUTE ASSY.

Double Outer, Lower Yield Monitor

1шт.

49

87723974

PLATE

Yield Monitor Cover, (Not Shown)

8шт.

50

425-284

FLANGE NUT,Flg, 1/4"-20.G5

Yield Monitor Cover Plate, (Not Shown)

16шт.

Выбрано товаров: 42